金奥钱凌玲

(钱凌玲女士与韩翟先生共同切下5周年生日蛋糕) 活
图片尺寸1199x1201
南京金奥费尔蒙酒店五周年庆典活动圆满举办
图片尺寸1280x853
7月9日 住朋网"大数据时代的房地产互联网思维研讨
图片尺寸550x367
南京金奥费尔蒙酒店喜获年度奖项fairmontnanjingawards
图片尺寸1080x1784
南京金大地房地产有限公司年会
图片尺寸672x448
朱柏衡:欢迎高邮媒体朋友来南京做客
图片尺寸532x800
南京金大地房地产有限公司年会
图片尺寸672x448
南京金大地房地产有限公司年会
图片尺寸672x448
南京金奥费尔蒙酒店五周年庆典活动圆满举办
图片尺寸1280x1920
118亿元汤臣一品一法拍房成交原主人身份不简单
图片尺寸1080x575
南京金奥费尔蒙酒店任命英戈瑞为总经理
图片尺寸284x300
游园人间四月天在金奥天空美术馆感受爱与温暖
图片尺寸794x588
上海第一豪宅汤臣一品一套住宅8211万起被拍卖拍出11841亿
图片尺寸660x480
完美主义当代女性艺术家作品展开展
图片尺寸557x373
118亿元汤臣一品一法拍房成交原主人身份不简单
图片尺寸1080x542
上海第一豪宅汤臣一品一套住宅8211万起被拍卖拍出11841亿
图片尺寸660x446
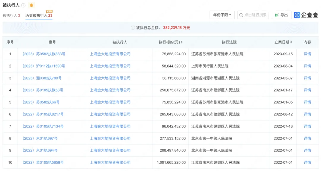
钱凌玲是为何许人也,小凤凰查阅资料发现,钱凌玲正
图片尺寸1080x696
元素在路上#2019年4月15日,@南京金奥费尔蒙酒店"【费】常时光·承
图片尺寸690x460
南京金奥费尔蒙酒店五周年庆典活动成功举办
图片尺寸800x533
上海第一豪宅汤臣一品一套住宅8211万起被拍卖拍出11841亿
图片尺寸660x247