金属卡接结构

一种卡扣式金属过孔连接器的制作方法
图片尺寸1000x978
一种用于天花板安装的卡接结构
图片尺寸999x1000
本实用新型涉及一种金属卡扣结构,尤其是一种用于钣金件安装的金属卡
图片尺寸353x381
产品结构设计之卡扣
图片尺寸424x383
汽车产品卡扣连接结构
图片尺寸1080x810
背景技术:在现有的同类灯具结构上,灯具也分为上下两部分,上面一部分
图片尺寸978x1000
位置,再按一次按钮时按钮被释放弹起,这种方式是通过两个环形结构相对
图片尺寸865x1000
一种金属卡扣安装结构的制作方法
图片尺寸1000x560
一种活动式卡扣机构的制作方法
图片尺寸855x1000
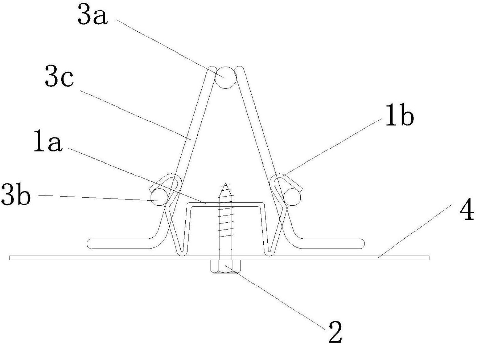
用于固定装配式钢筋桁架楼承板的一体式自锁金属卡扣
图片尺寸1518x1097
电子产品结构中常用的几种卡扣设计形式
图片尺寸1080x810
本实用新型涉及轻型钢结构连接技术领域,具体涉及一种金属卡扣.
图片尺寸429x444
cn203626389u_栅栏组装用弹性非金属卡接圈失效
图片尺寸858x1000
专利 天津美钢金属制品有限公司 专利详情 申请公布号 cn208840911u
图片尺寸975x1000
特别涉及一种应用于扩展桌面上连接两个部件的卡扣结构
图片尺寸1000x827
结构设计卡扣设计标准
图片尺寸552x793
大号钢结构管卡固定1620镀锌金属卡扣吊25电线管卡kbg管槽钢卡大号钢
图片尺寸990x990
一种装配式卡接墙板的连接结构
图片尺寸1468x1303
的一种装饰件,固定于室内墙面下沿并与墙边地面地板或瓷砖垂直相接处
图片尺寸419x444
扣的主体由支座,主锁扣和主弹簧构成,所述主锁扣通过圆柱销枢接于支座
图片尺寸907x883