针脚简笔画

针脚,下降的针脚的抽象和简化插图
图片尺寸1024x862
安全引脚图标,矢量插图图片下载
图片尺寸796x800
针脚的简笔画
图片尺寸488x374
针格阵列的针脚
图片尺寸228x360
商标logo
图片尺寸669x1290
医生的一次性针怎么画简笔画针脚简笔画抗击疫情的针简笔画针的简笔画
图片尺寸750x500
用于网络的引脚和草图股票符号的集合插画-正版商用图片16q3hp-摄图新
图片尺寸700x700
一种嵌入式针脚骨架-爱企查
图片尺寸800x675
摘要:一种尺寸稳定的通用地板覆盖件,包括具有针脚的簇绒织物和可操作
图片尺寸444x246
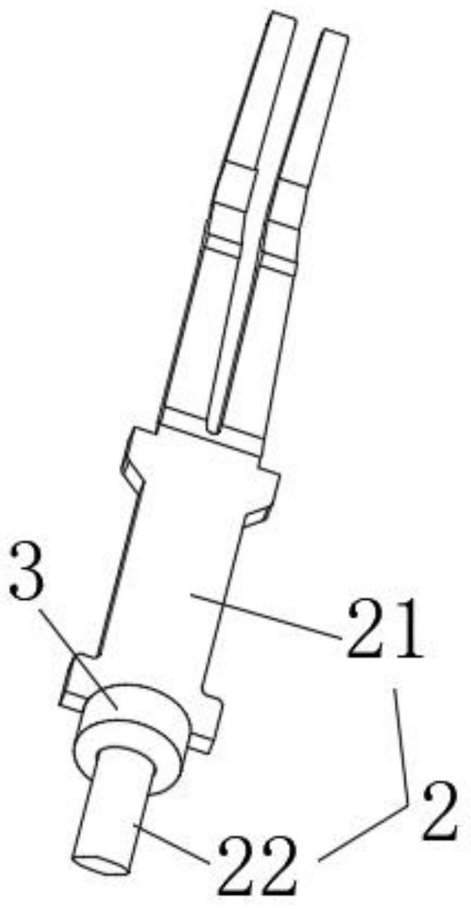
一种传感器的针脚激光焊接结构-爱企查
图片尺寸732x800
雪绒花符号针脚标志矢量eps10插画-正版商用图片17in76-摄图新视界
图片尺寸700x687
引脚指针位置图标
图片尺寸800x1200
画图片5幅针管简笔画步骤 针管简笔画怎么画绣花针的简笔画针脚的简笔
图片尺寸390x336
③ 插头针脚松脱检查 检查插头上的导线针脚是否有松脱迹象,如果发现
图片尺寸393x241
商标logo
图片尺寸800x709
投降与白旗概念矢量插图卡通3d简笔画在白色上挥舞奥地利国旗快乐的3d
图片尺寸612x433
电烙铁怎么才能焊好,电烙铁怎么才能焊好焊缝(让你
图片尺寸500x410
专利详情
图片尺寸260x260
引脚指针位置图标
图片尺寸798x1200
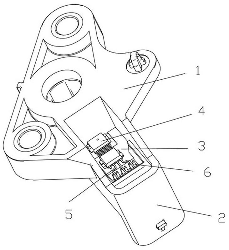
一种半导体元器件针脚插接件的制作方法
图片尺寸443x256