钢板弹簧卷耳

zinc spray leaf spring
图片尺寸480x372
febi | 15082 | 衬套 用于钢板弹簧卷耳孔和钢板弹簧悬架 | bilstein
图片尺寸320x320
宏瑞板簧片 后钢板弹簧第一片带卷耳 山东五征飞碟宏瑞汽车配件
图片尺寸300x300
喷锌出口钢板弹簧
图片尺寸480x372
河南板簧卷耳加热设备
图片尺寸860x1146
钢板弹簧
图片尺寸749x464
汽车钢板弹簧如何维修保养远成钢板弹簧保修范围
图片尺寸800x800
由中心螺栓至两端卷耳中心的距离相等时,称为对称式钢板弹簧,不相等时
图片尺寸420x258
卷耳(汽车钢板弹簧术语)
图片尺寸250x108
本发明公开了一种重型汽车板簧卷耳安装结构,该结构由板簧座,钢板销
图片尺寸517x388
汽车板簧加热设备 钢板扁钢感应加热炉 中频板簧卷耳加热电炉 钢板
图片尺寸1280x720
后悬架——平衡式,钢板弹簧,两端
图片尺寸900x600
钢板弹簧卷耳的受力情况
图片尺寸1080x810
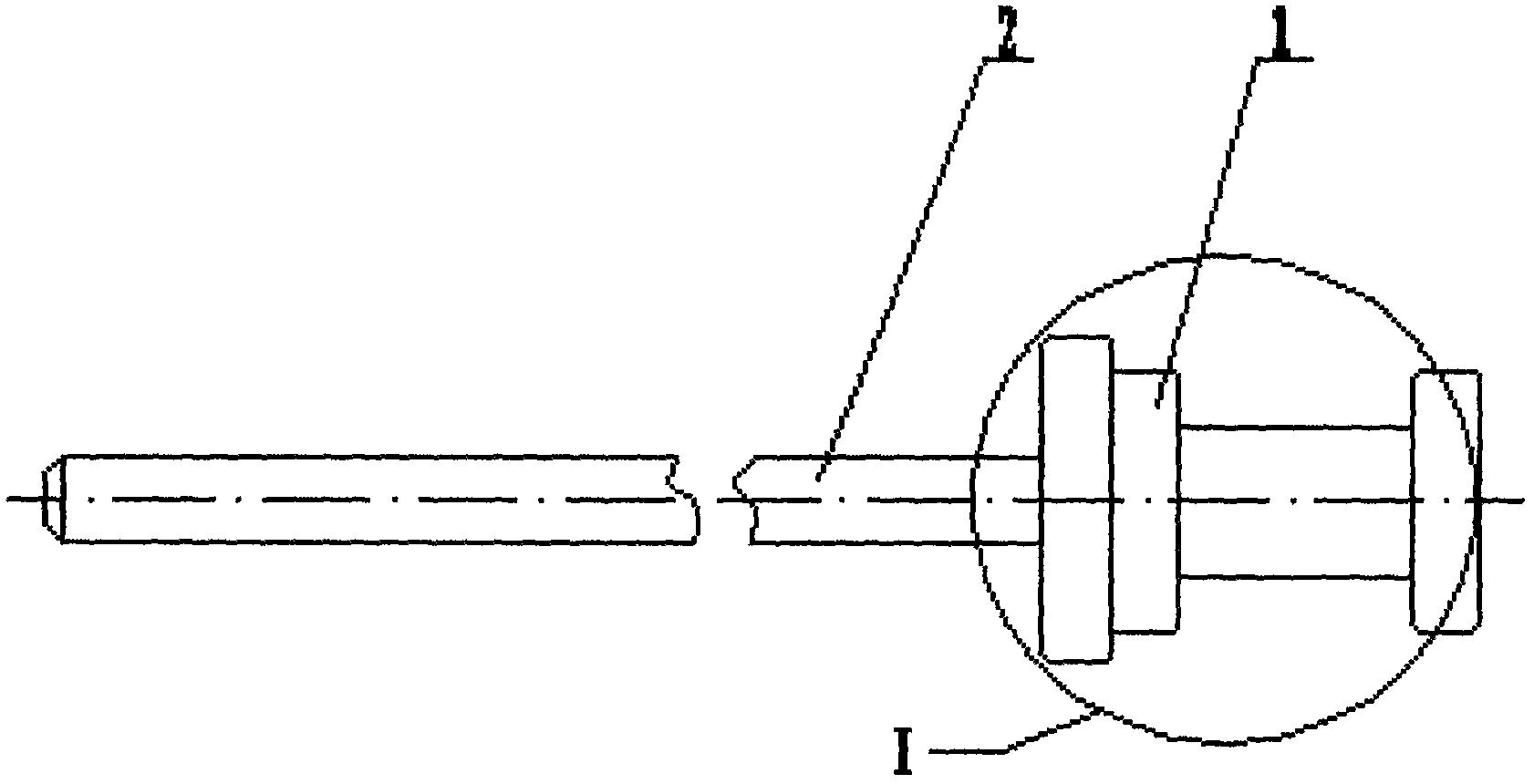
一种钢板弹簧卷耳整形装置的制作方法
图片尺寸1000x852
卷耳机淄博淬火机,淬火炉,淄博汽车板簧设备,山东汽
图片尺寸479x329
一种非对称下卷式卷耳变截面前钢板弹簧的制作方法
图片尺寸510x336
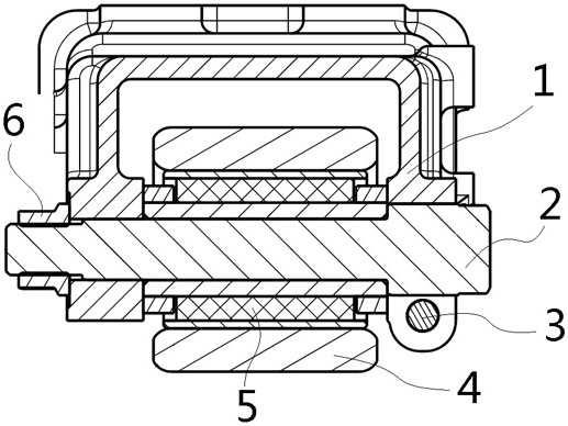
一种用于钢板弹簧热卷耳的组合式卷耳芯轴-爱企查
图片尺寸1682x860
奥驰x3钢板弹簧 弓子板 第一片 带卷耳 五征飞碟汽车原车配件
图片尺寸300x300
钢板弹簧还这么多讲究
图片尺寸600x382
钢板弹簧悬架的性能影响着整车的性能,在悬架系统上有着广泛的应用
图片尺寸900x900