钢筋锥套连接

锥套锁紧钢筋接头
图片尺寸2880x1800
锥套锁紧钢筋连接接头
图片尺寸1080x811
锥套锁紧钢筋接头
图片尺寸2880x1800
公司研发的"锥套锁紧钢筋连接技术"拥有完全自主知识产权,已获得过十
图片尺寸1240x605
锥套锁紧钢筋接头
图片尺寸3456x2160
钢筋锥螺纹套筒连接
图片尺寸1860x2631
工业化时代的钢筋连接锥套锁紧钢筋接头
图片尺寸1248x720
锥套锁紧钢筋接头部品化成束钢筋连接技术应用
图片尺寸4608x3456
常泰长江大桥工业化建造锥套锁紧钢筋接头
图片尺寸3456x2160
锥套锁紧钢筋接头轴向挤压连接
图片尺寸1063x257
挤压锥套锁紧式钢筋接头
图片尺寸1745x844
钢筋部品制作,整体吊装施工,采用锥套锁紧钢筋接头实现主筋对接
图片尺寸375x253
锥套锁紧钢筋接头
图片尺寸1248x720
锥螺纹钢筋套筒
图片尺寸1500x1500
挤压锥套锁紧式钢筋接头
图片尺寸1811x852
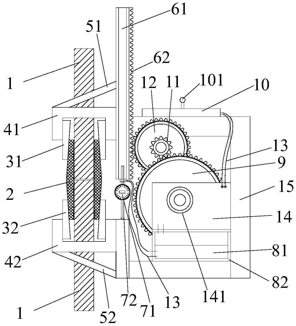
一种便携式电动锥套钢筋接头锁紧装置及其施工方法
图片尺寸1193x1315
三种新型钢筋机械连接套筒,方便高效!
图片尺寸810x1080
=锥套锁紧钢筋接头
图片尺寸640x360
汇翔供应 冷挤压套筒22 钢筋连接件 支持定制 可试拉品质
图片尺寸750x2250
💥钢筋套筒连接大揭秘
图片尺寸720x1280