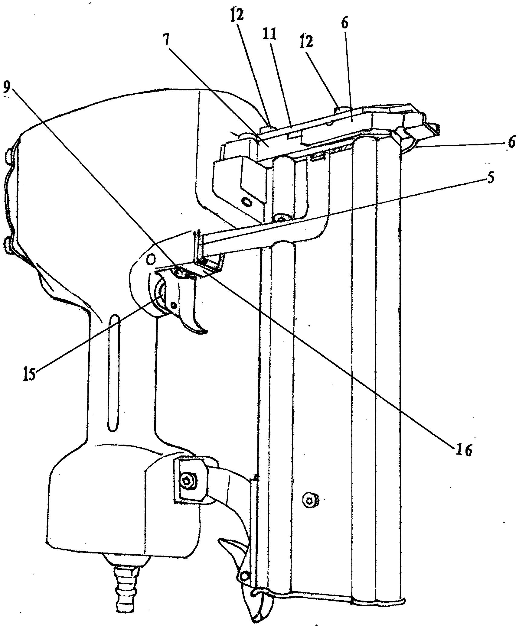
钢钉枪保险装置

目前的气动钢钉枪保险装置组件多制造成本高,并且存在使用不省力的
图片尺寸1716x2081
中杰 耐战 气钉枪 st64 钢排枪 钢钉枪 带保险 直钉枪
图片尺寸1280x960
扳机外形类似于m1911手枪的,扳机护圈下方是握把保险
图片尺寸600x380
商品详情-邦威防护科技股份有限公司
图片尺寸790x1000
stenmarkmkii司登mkii冲锋枪保险展示
图片尺寸964x602
f e r r a r i f40 gte igol #44 & #27
图片尺寸1000x670
04年全国职业&
图片尺寸1024x803
beryllium
图片尺寸2700x1800
迷你炮钉枪吊顶神器一体射钉枪专用枪混凝土打钉枪弾药瓦斯射钉抢
图片尺寸1500x2322
空仓挂机是如何实现的64式手枪的弹匣回闩又是什么
图片尺寸640x477
产品服务
图片尺寸1653x1503
248003093508
图片尺寸2480x3508
手枪保险开关到底是露出红点射击,还是盖住红点射击? - 知乎
图片尺寸1632x1224
com : buy right angle drill 105 degree angle
图片尺寸658x658
military special product
图片尺寸3794x2644
绷紧安全弦,奏响欢乐歌
图片尺寸1920x1004
原创枪机不到位保险避免射手被火药糊脸的一道保险
图片尺寸500x333
塑料焊枪汽车保险杠修复神器塑料修复机塑焊机焊钉修补网焊接神器黑色
图片尺寸1000x1000
gas,weld,welder,protective gas,autogen,mig,inert gas welding
图片尺寸3456x4608
可寻址火灾报警输入输出监控模块
图片尺寸750x1000