钥匙结构

总钥匙管理系统知识介绍
图片尺寸742x469
钥匙结构的制作方法
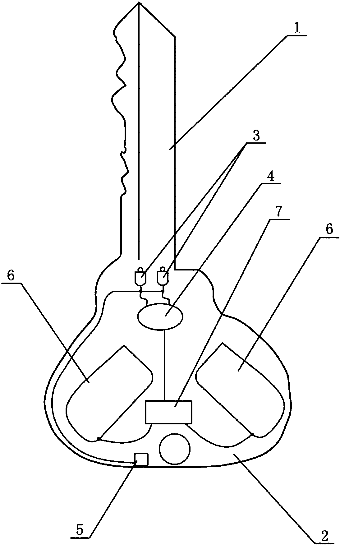
图片尺寸633x1000![[0012]图1是本实用新型一种铁钉式钥匙的整体结构示意图;[0013]图2](https://i.ecywang.com/upload/1/img1.baidu.com/it/u=1402559161,2629689055&fm=253&fmt=auto&app=138&f=GIF?w=703&h=500)
[0012]图1是本实用新型一种铁钉式钥匙的整体结构示意图;[0013]图2
图片尺寸786x559
一种汽车智能钥匙结构的制作方法
图片尺寸1000x592
cn208430886u_一种钥匙结构有效
图片尺寸1589x1012
便于夜间使用的自照明钥匙结构
图片尺寸1094x1753
cn2214995y_改良结构的钥匙失效
图片尺寸1056x1888
可录音的钥匙的制作方法
图片尺寸1000x860
cn211974649u_一种汽车钥匙结构有效
图片尺寸1493x845
一种工程机械用的钥匙
图片尺寸1000x764
一种取电结构的钥匙
图片尺寸800x1213
带有辨识装置的钥匙
图片尺寸943x936
内嵌式汽车机械钥匙
图片尺寸1000x800
一种钥匙结构制造技术
图片尺寸1000x616
cn2576860y_钥匙结构失效
图片尺寸709x559
一种具有编码结构的钥匙制造技术
图片尺寸430x511
可测试电的钥匙的制作方法
图片尺寸1000x633
包括手柄,钥匙杆和钥匙头,所述钥匙头呈套筒结构,所述钥匙头一端与
图片尺寸1000x927
一种具有钥匙未拔提醒功能的钥匙结构的制作方法
图片尺寸486x356
cn204040652u_软坯钥匙失效
图片尺寸1000x709