铆接螺栓图纸

m8铆焊螺杆加工
图片尺寸655x588
5*52,铝半空心铆钉
图片尺寸1920x1456
cn106151230b_一种无法拆卸的螺栓型铆钉的加工方法有效
图片尺寸1201x1164
铆接图-tfh tfh-2
图片尺寸366x380
gjb38131987100沉头抗剪型环槽铆钉a型
图片尺寸2245x1387
5m3m3.2圆帽铆钉螺钉
图片尺寸508x553
qibindaat铝合金大盘头防水灯笼铆钉
图片尺寸2245x1387
压铆螺钉大头 hfe-1/4-20*8 hfe多规格定制 美制压铆螺丝
图片尺寸740x395
qib/ind pf41 统一螺纹涨铆式弹簧螺钉
图片尺寸2245x1387
cn2926634y_用于轿车座椅骨架总成的铆接螺栓失效
图片尺寸867x1042
lb锁扣与锁扣联动轴铆接工装设计 - 工装图纸 - 沐风网
图片尺寸425x601
一种行李架用铆接螺栓-爱企查
图片尺寸1183x982
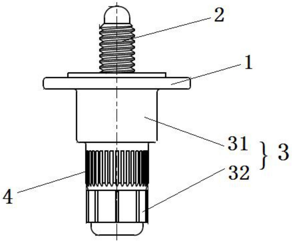
一种铆接式防松螺栓组件的制作方法
图片尺寸1000x492
一种单面铆接螺栓及其铆接方法与流程
图片尺寸1000x504
铆钉和螺栓连接的计算分析
图片尺寸1080x810
cn2106933u_组合铆钉失效
图片尺寸1696x1029
一种抽芯铆钉及使用该铆钉的铆接方法与流程
图片尺寸1000x520
一种母排接线螺栓铆接结构的制作方法
图片尺寸1000x904
cn206988262u_一种短尾拉铆钉有效
图片尺寸1818x854
镀镍账本螺丝/子母铆钉/相册对锁螺丝/菜谱钉/半空心铆钉5-150mm
图片尺寸1159x704