铝合金插芯

高档铝合金美标插芯插座面板 超厚20mm面板 家装电源插排入墙插
图片尺寸300x300
美国蛇王ksii铝合金墙插面板发烧级电源插芯两位插座
图片尺寸750x750
铝合金hifi插座发烧美标国标排插音响多用英标电源插芯 2位国标2位
图片尺寸750x750
美规二插插头内架耐高温工业插头一体式铝合金插头电源线配件批发
图片尺寸750x1262
成都市爱诺铁幕墙材料有限公司
图片尺寸1080x1409
韩国加纯铝合金金色磨砂面hifi音响美标插座插芯板86型发烧电源插
图片尺寸300x251
美国蛇王ks-ii 铝合金墙插面板 发烧级电源插芯86*86两位美标插座
图片尺寸300x300
铝合金hifi插座发烧美标国标排插音响多用英标电源插芯 2位国标2位
图片尺寸750x750
专业生产铝合金插芯门锁
图片尺寸532x329
86*86 美标两位铝合金面板 家装墙插美式铝面板 插座芯面板端子
图片尺寸800x800
铝合金hifi插座发烧美标国标排插音响多用英标电源插芯 2位国标2位
图片尺寸750x596
意大利ksiihiend发烧插座铝合金紫铜插芯美式美标电源插座
图片尺寸800x800
家装墙插美式铝面板 86*86 美标两位铝合金面板 电源插座芯面板
图片尺寸800x800
yytcg 美标电源插座入墙式镀金插芯音响86型铝合金面板美规头插座美式
图片尺寸800x800
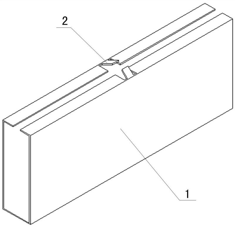
一种可确定间隙的铝合金方通插芯-爱企查
图片尺寸800x773
卓瑞铝合金横梁插芯助力陕西新能源汽车项目基地
图片尺寸800x800
6525型通道插芯门锁孔距143 过道无锁芯孔带反锁铝合金阳台门6535
图片尺寸800x800
发烧级镀紫铜2位美式墙插插芯86×86铝合金面板hifi音响美标插座
图片尺寸800x800
定制全铝hifi音响发烧排插6位美标 cooper插芯 不带显示屏和开关 6位
图片尺寸800x800
铝合金hifi插座发烧美标国标排插音响多用英标电源插芯 2位国标2位
图片尺寸750x517