铝板钢架图纸

19g5183门式刚架轻型房屋钢结构有吊车
图片尺寸1600x1131
一种铝合金长大型材储运一体化料架
图片尺寸1863x1081
cn212200762u_一种用于别墅型住宅的铝合金骨架结构有效
图片尺寸1000x923
优化铝型材框架设计的重要性体现
图片尺寸708x502
铝单板厂家3,铝板幕墙依靠脚手架进行施工,根据幕墙骨架设计图纸规定
图片尺寸700x500
原创铝型材框架图纸如何设计
图片尺寸919x661
其实工业铝型材制作成不同的铝型材结构框架,它的承重也不同,框架图纸
图片尺寸770x758
钢结构铝板雨棚节点大样图施工图/铝塑板立侧面采用铝板饰面【7】
图片尺寸757x568
【铝型材框架工程图纸存档的必要性】-南京美诚铝业科技有限公司
图片尺寸701x543
铝型材技术图纸
图片尺寸800x589
07sg5184多跨门式刚架轻型房屋钢结构无吊车
图片尺寸1408x978![[分享]干挂铝单板幕墙节点资料免费下载](https://i.ecywang.com/upload/1/img1.baidu.com/it/u=3069734785,1978455976&fm=253&fmt=auto&app=138&f=JPEG?w=560&h=383)
[分享]干挂铝单板幕墙节点资料免费下载
图片尺寸560x383
上海安腾铝业专业生产工业铝型材-4040铝型材价格
图片尺寸680x479
工业型材的载重和什么有关?
图片尺寸640x628
5空间,改为二层超市,采用钢结构夹层图纸,主体机构采用h型钢,楼板为
图片尺寸1057x739
【桁架】24m梯形钢屋架施工图- 结构图纸 - 沐风网
图片尺寸820x579
自动贴标设备铝型材机架加工图纸
图片尺寸829x351
铝板- 热门商品专区
图片尺寸2000x1534
一种曲面框架式铝板幕墙安装结构
图片尺寸1611x2024
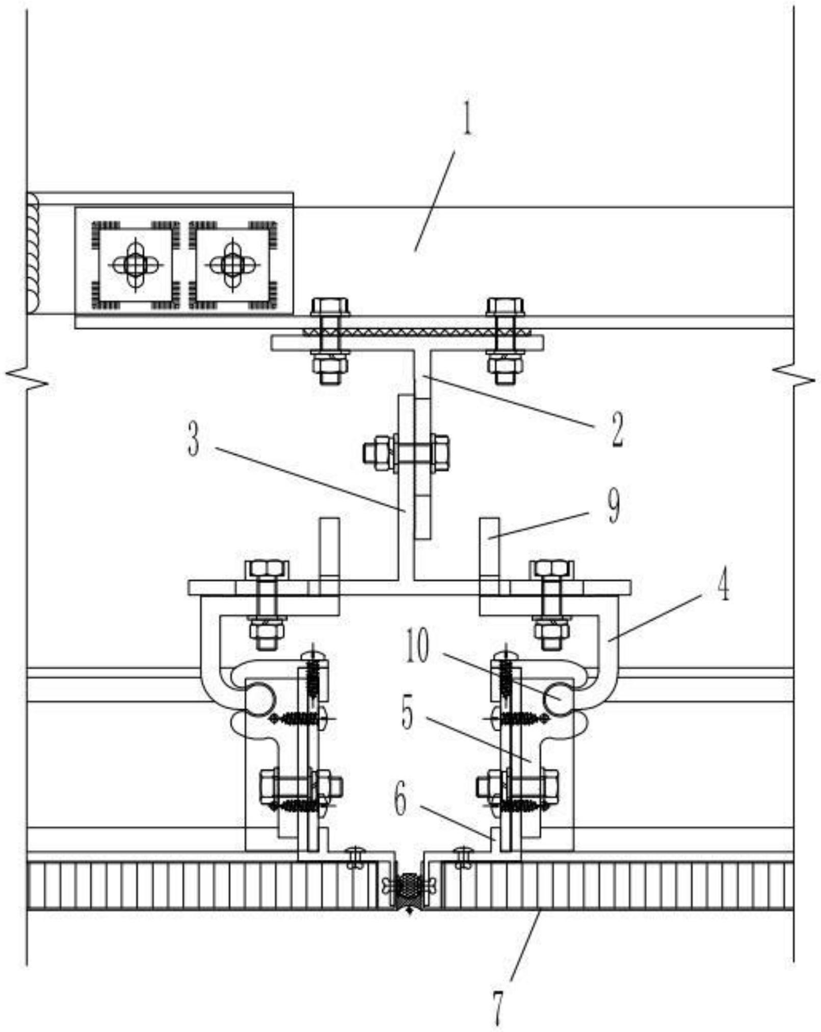
cn207829278u_一种斜坡轻型钢结构屋面铝板饰面吊顶系统的铝板饰面层
图片尺寸1904x1093