铣刀结构

详细了解铣刀功能部件
图片尺寸400x283
干加工中心的你知道立铣刀的用途和结构吗
图片尺寸686x303
cn87215410u_一种t形槽铣刀失效
图片尺寸2688x1856
立铣刀的选用方法
图片尺寸652x280
整体立铣刀2
图片尺寸1080x810
按结构分类 3,镶齿式:这种铣刀的刀体是普通钢料做成, 而把工具钢的
图片尺寸1080x810
平底铣刀,球头铣刀结构图
图片尺寸860x541
立铣刀螺旋角的选择门道,大有学问!
图片尺寸474x356
铣刀基本的组成部份图示说明
图片尺寸715x426
模具铣刀图1-64 常用模具铣刀刃形如图1-65所示为一凹模的型腔结构,其
图片尺寸928x819
木工铣床的结构及木工铣刀的安装使用方法
图片尺寸640x501
铣刀 刀把
图片尺寸1080x810
平底铣刀,球头铣刀结构图
图片尺寸860x591
整体硬质合金异型齿铣刀
图片尺寸650x306
你真的对铣刀结构了解吗?
图片尺寸851x478
台湾得瑞克铝用合金钨钢铣刀2刃3刃4x100mm铝用铣
图片尺寸750x822
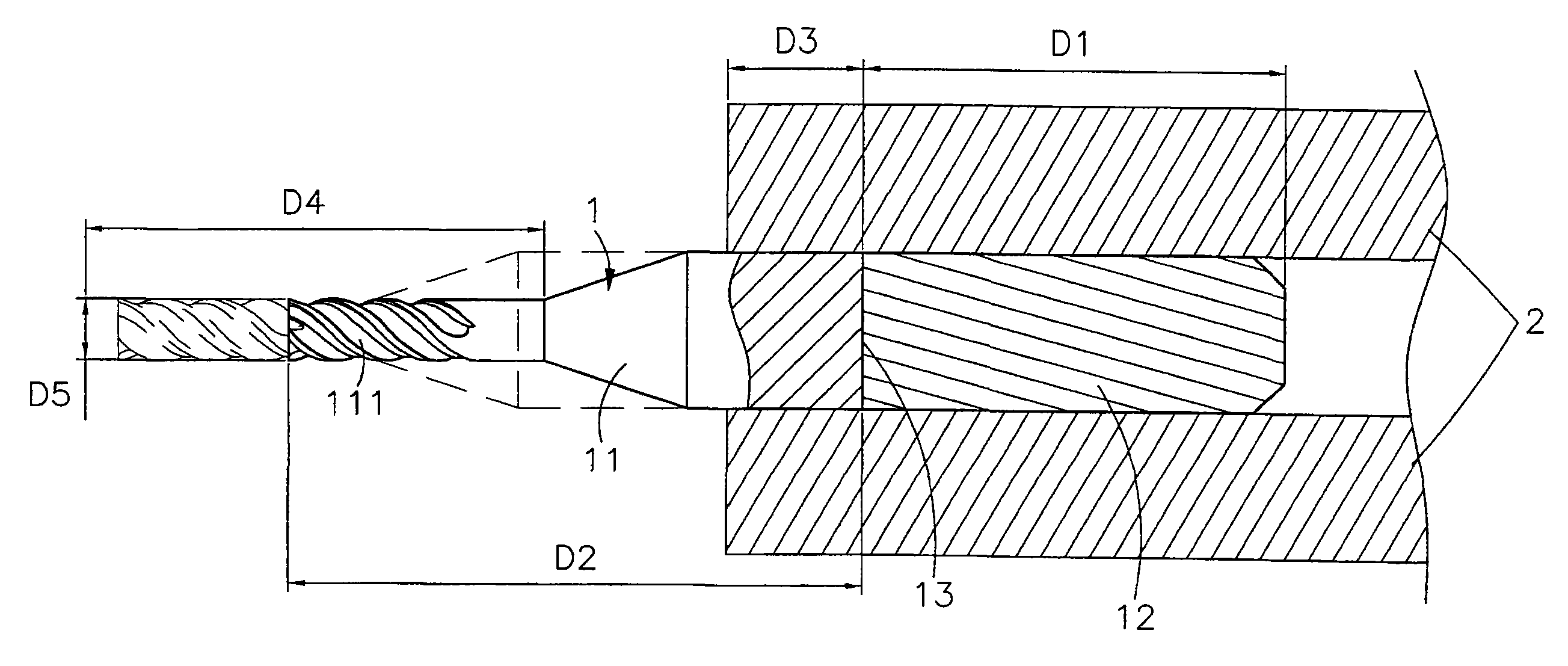
一种铣刀结构改良
图片尺寸2607x1107
4Ⅱ型铣刀与Ⅰ型精切铣刀的结构型式基本相同,只是刀体外圆直径比Ⅰ型
图片尺寸410x424
齿轮刀具·齿轮铣刀
图片尺寸600x255
(八)铣刀的内孔直径d与支持端面直径d的最小结构尺寸及公差分别见表.
图片尺寸542x279