铣削动力头装配图

内齿轮铣齿机的铣削动力头设计【含cad图纸 pdf图】_装配图网
图片尺寸1200x800
用于铣床的机械式五轴动力头-爱企查
图片尺寸1806x2316
a0-立铣头装配图.dwg
图片尺寸1200x800
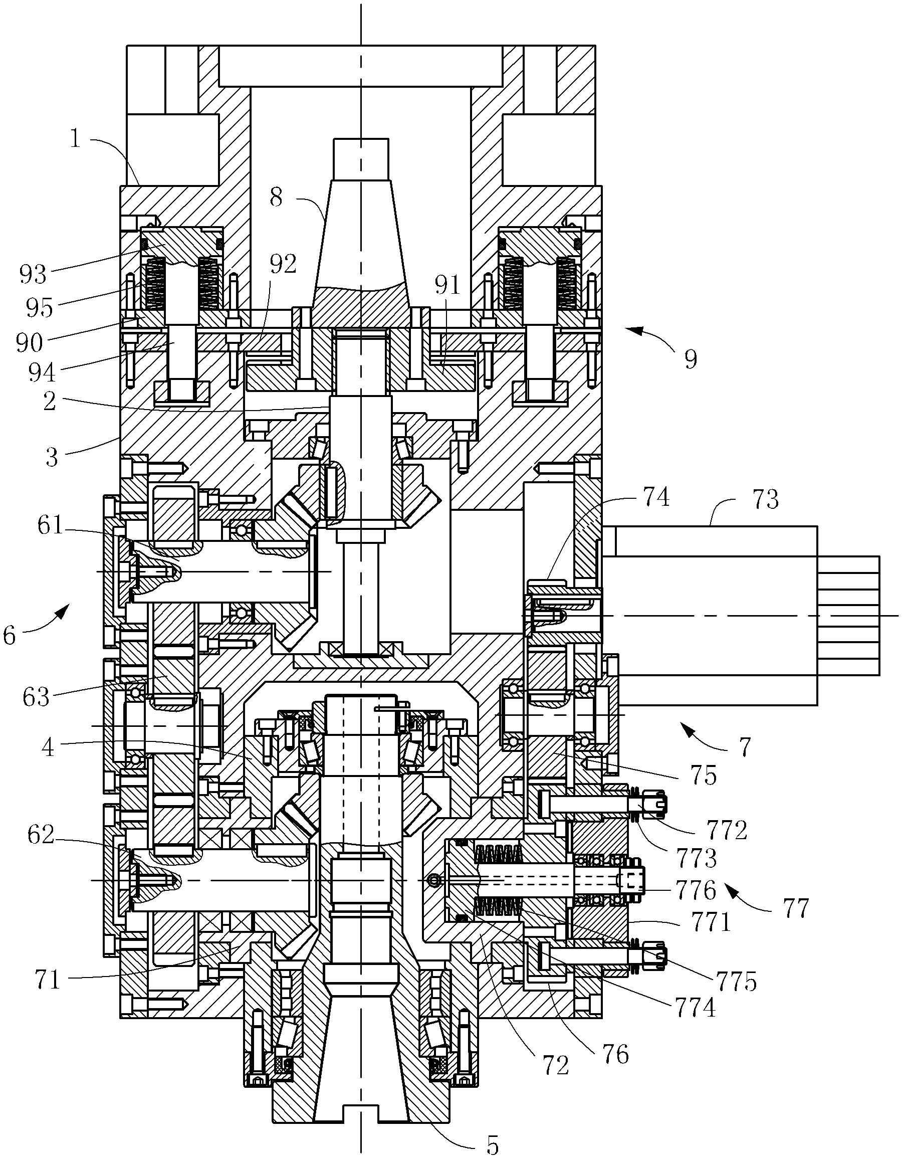
cn102069227a_组合机床用铣削动力头失效
图片尺寸2811x1705
一种铣钻复合动力头的制作方法
图片尺寸1000x641
cn201768947u_一种新型铣边机动力头有效
图片尺寸1452x900
动力头
图片尺寸841x594
铣刀头装配图
图片尺寸1591x1111
某企业钻削动力头详图
图片尺寸820x477
题8-1,读"铣刀头"装配图
图片尺寸900x630
立铣头装配图a0.dwg
图片尺寸1200x800
跪求 铣削动力头主轴部件双键套零件工艺设计及铣槽 钻孔 夹具设计
图片尺寸2544x2920
看懂铣刀头装配图,该装配体由几种零件组成.()http://image.
图片尺寸721x567
是铣刀头的装配图.一张完整的装配图应具有下列内容
图片尺寸553x347
一篇可以让你全面认识铣削动力头的专业文章
图片尺寸640x550
a0-立式铣床动力头
图片尺寸804x577
铣刀头装配图中4Φ20属于尺寸
图片尺寸748x517
铣头装配图a0.dwg缩略图
图片尺寸840x594
内齿轮铣齿机动力头装配图
图片尺寸782x592
铣头装配图
图片尺寸1003x674