铰刀结构图

> 铰刀
图片尺寸2096x1314
铰刀的结构由工作部分,颈部和柄部3部分组成.
图片尺寸1798x1907
三,铰刀的结构圆锥孔铰刀/圆柱孔铰刀.
图片尺寸640x443
六方铰刀的设计与应用
图片尺寸944x472
国家标准-套式机用铰刀
图片尺寸1296x860
一种气瓶锥螺纹底孔铰刀的设计方法-综合频道-国际机床网
图片尺寸600x434
一种气瓶锥螺纹底孔铰刀的设计方法
图片尺寸580x420
依靠铰刀的结构和辊光效果改善表面粗糙度近来对铰孔后的孔不仅要求
图片尺寸600x251
铰刀技术与应用知识_腾讯新闻
图片尺寸599x452
铰刀的结构及其工艺特点
图片尺寸920x1302
一种气瓶锥螺纹底孔铰刀的设计方法
图片尺寸580x420
机夹可转位单刃铰刀介绍
图片尺寸353x359
铰刀的安装
图片尺寸1223x359
铰刀的合理使用与改进
图片尺寸714x405
套式机用铰刀
图片尺寸710x443
非标铰刀
图片尺寸640x468
可调节手用铰刀直柄可调绞刀浮动铰刀694mm高速钢捻把可调式扩孔猛仲
图片尺寸750x349
一种铰刀-爱企查
图片尺寸1579x762
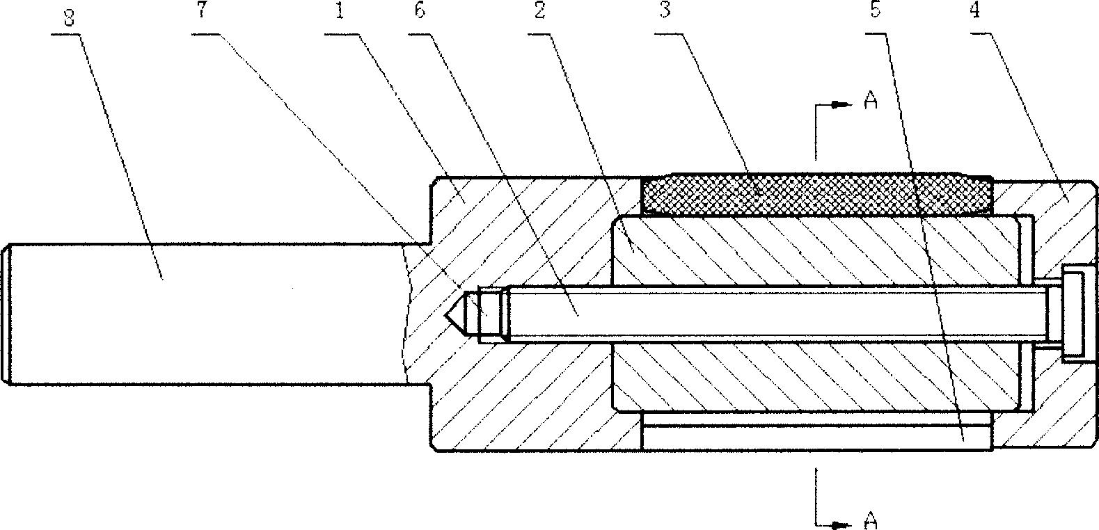
一种螺旋式的铰刀的制作方法
图片尺寸1000x643
特殊小孔精铰刀
图片尺寸345x299