铲雪车结构图

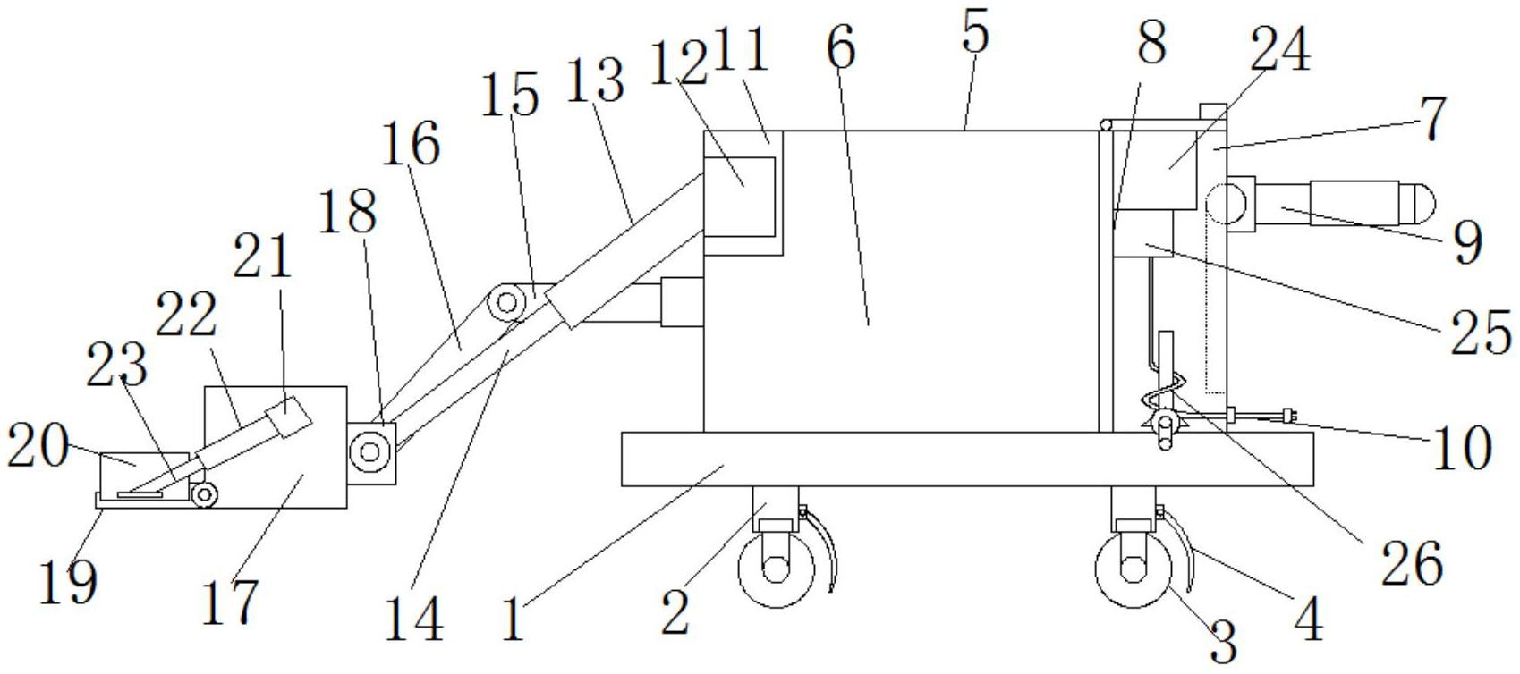
一种扫雪铲车的制作方法
图片尺寸1000x615
一种除雪车的制作方法
图片尺寸516x422
扫雪机
图片尺寸1911x1732
叉车用除雪铲-爱企查
图片尺寸1607x1789
x一种环保节能的铲雪车-爱企查
图片尺寸1699x754
微型除冰铲雪车三维仿真图及原理
图片尺寸932x518
小型装载机推雪铲设备配置 铲车吹雪清雪滚刷一般多少钱
图片尺寸1000x772
装载机车载除雪机的制作方法
图片尺寸860x929
除雪车推雪铲的制作方法
图片尺寸836x495
一种多功能除雪机,包括机动车车体和组装其上的除雪铲,扫雪机及其传动
图片尺寸709x382
铲雪车结构设计【货车配套除雪铲设计】
图片尺寸1200x800
一种扫雪机的制作方法与工艺
图片尺寸1000x867
除雪车滚刷连接装置的制作方法
图片尺寸765x452
多功能吹雪车
图片尺寸800x431
一种多功能破冰铲雪车的制作方法
图片尺寸567x319
包括汽车底盘的驾驶室内设置有控制面板,车头前端设置有除雪铲,汽车
图片尺寸1000x322
一种除雪抛雪车的制作方法
图片尺寸478x428
而小型除雪机能够快速清除人行道等除雪车处理不了的路面积雪,它不仅
图片尺寸635x314
该除雪车是由铲雪机构和清雪机构两部分组成.
图片尺寸2464x1482
一种多功能扫地车配套推雪铲的制作方法
图片尺寸1000x640