链条式抽油机

什么是链式抽油机
图片尺寸150x150
大庆油田采油五厂 宝石机械老抽油机
图片尺寸1123x701
大庆油田 北一快速路与庆喇路交汇路口老抽油机
图片尺寸1918x1080
链条抽油机
图片尺寸667x445
链条抽油机与皮带抽油机有何区别
图片尺寸500x551
供应抽油机钢丝绳提升带
图片尺寸496x594
油田电机的风能发电发展现状_大连钰霖电机有限公司
图片尺寸1025x2736
特种链条抽油机支撑结构的受力分析_刘兴德_卢伟宏_吴清文
图片尺寸500x500
现河采油厂内的游梁式抽油机和皮带式抽油机作为不可再生能源,石油
图片尺寸693x520
大庆油田 南一快速路边的荆沙14型抽油机
图片尺寸1920x1080
cn303083026s_长冲程链条式皮带抽油机有效
图片尺寸896x2144
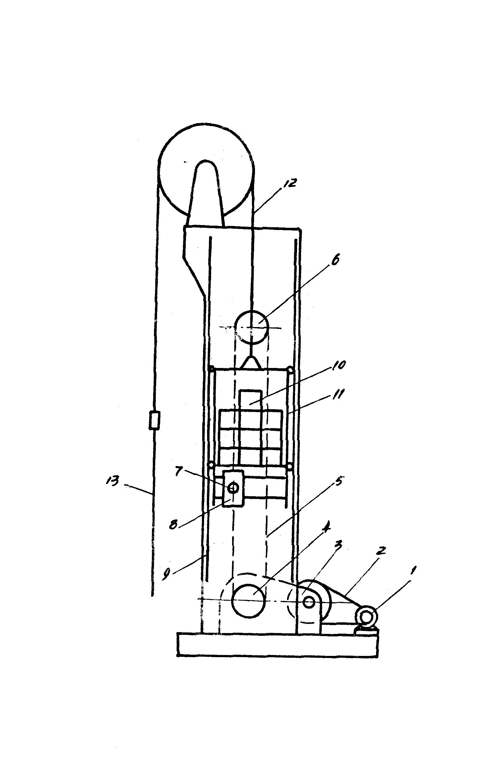
链条式往复抽油机-爱企查
图片尺寸1504x2145
当今世界上最节能的油田抽油机,tyc全封闭砝码塔式链条抽油机
图片尺寸683x517
重力平衡链条抽油机-爱企查
图片尺寸1600x2479
cn201535157u_一种链条抽油机失效
图片尺寸1807x2061
大庆市中级人民法院后身的抽油机采油井
图片尺寸1765x1080
其它 五十八期高阳影友习作集 写美篇《我为祖国献石油》 摄影
图片尺寸2828x2000
揭秘~"油田造"的新型塔架式抽油机,到底新在哪?
图片尺寸1080x607
安控数字化油田擂台谈谈你见到过的抽油机第49期已结束
图片尺寸600x450
液压抽油机-石油工人的福音
图片尺寸837x544