销钉怎么画

一种带电作业翻板卡具用销钉-爱企查
图片尺寸691x1334
常用销钉配合及应用
图片尺寸1224x754
销连接及其画法
图片尺寸600x532
百科
图片尺寸268x340
图钉简笔画图片
图片尺寸300x300
对轮销子cad图纸
图片尺寸820x1084
圆柱销
图片尺寸1160x361
手绘线条美式图钉
图片尺寸600x600
a以下销钉画法中,正确的是( ).
图片尺寸302x396
一种偏心销钉
图片尺寸1049x1045
螺丝钉简笔画
图片尺寸500x526
带吸能结构的膨胀销钉的制作方法
图片尺寸443x370
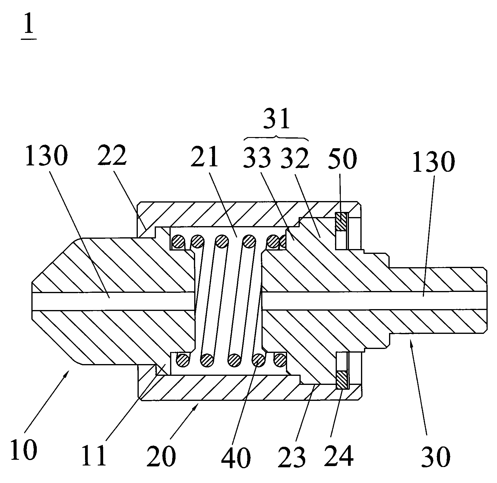
cn101737391b_组合式销钉有效
图片尺寸1648x1600
手压阀 销钉
图片尺寸589x401
一种具有快速开合锁紧功能的十字槽大扁头组合销钉的制作方法
图片尺寸878x523
机械制图-1.4,销 图6
图片尺寸506x193
cn201896829u_一种销钉及其取出工具失效
图片尺寸600x570
用于铝型材上的内螺纹定位销钉的制作方法
图片尺寸327x361
cn206816644u_一种定位销有效
图片尺寸428x233
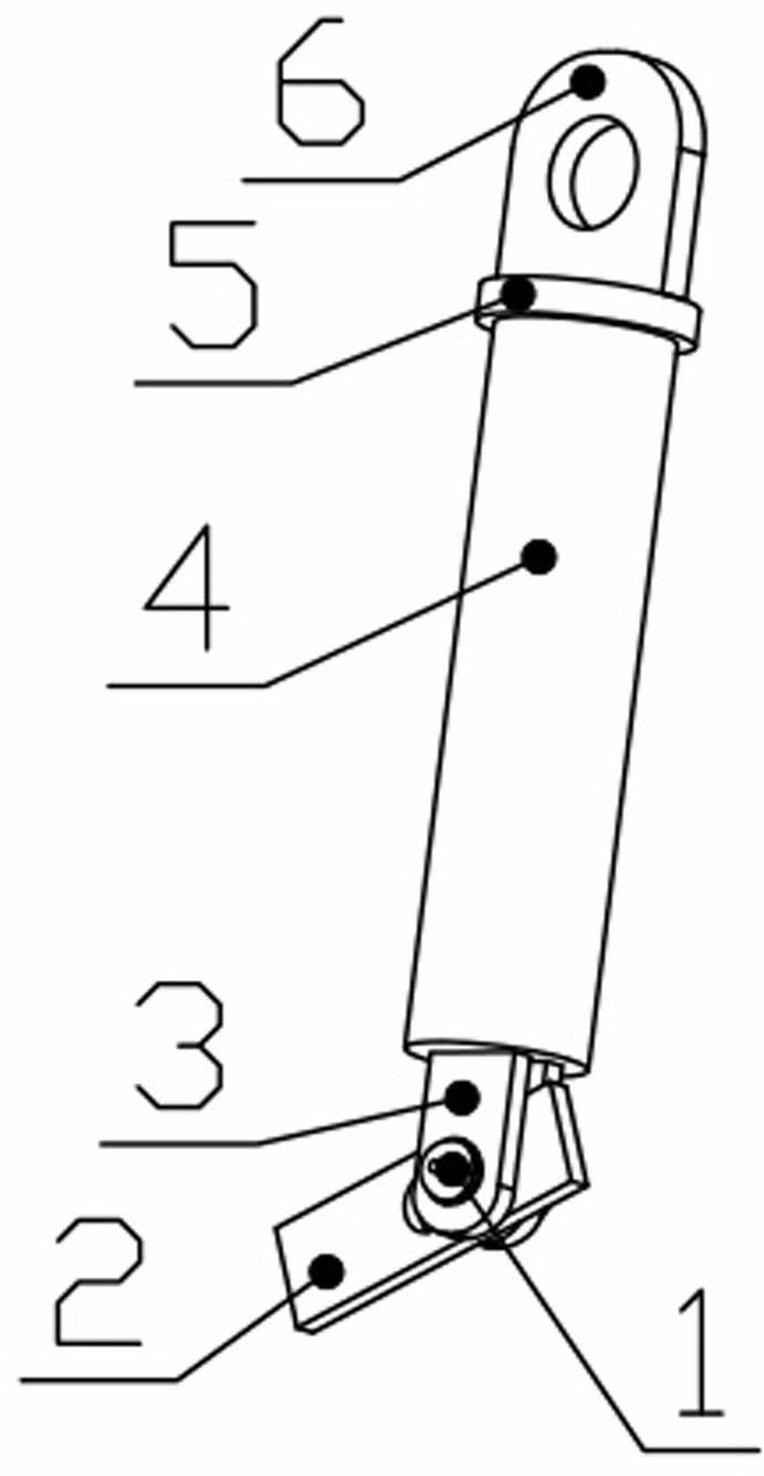
一种可伸缩销钉制造技术
图片尺寸348x304