锚栓笼

精益求精,一丝不苟——大水坑风电项目首台风机锚笼组立工作顺利完成
图片尺寸1600x900
全部产品:高强度双头螺栓(风能锚栓笼叶片螺栓钢拉杆丝杠船用双头螺栓
图片尺寸640x640
东莞7字地脚螺栓地笼来图可定制
图片尺寸700x700
锚栓笼
图片尺寸657x503
5月9日#50机位开始锚栓笼安装.
图片尺寸1440x1080
内蒙古光伏风力发电地脚笼,焊接风电基础锚栓加工厂
图片尺寸600x400
锚栓笼安装
图片尺寸898x600
长沙风力发电地脚笼批发价达克罗风电螺丝型号
图片尺寸600x400
宁波风电螺栓经销商深耕市场
图片尺寸600x400
温州风力发电螺丝规格,国标风力发电螺丝批发商
图片尺寸600x400
上街普莱纳环氧树脂混凝土多少钱一吨
图片尺寸750x750
现货销售紧固件风能锚栓塔桅结构风电塔结构厂价直销欢迎订购
图片尺寸640x640
设备安装灌浆料 风电锚笼灌浆料 灌浆料用量计算公式 新益世纪
图片尺寸750x750
养鸭笼具
图片尺寸500x500
河北中唐紧固件地脚螺栓 焊接地脚 锚栓 高强度锚栓 地脚笼 来图定做
图片尺寸750x750
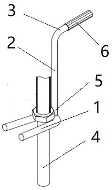
一种便于风电基础锚栓笼安装的工具-爱企查
图片尺寸474x800
主营地脚螺栓风力发电螺栓预埋件
图片尺寸750x750
拉萨哪里有切底自攻锚栓公司(报价)
图片尺寸795x600
轩宇紧固件 地脚螺栓 焊板地脚螺栓 焊接地笼
图片尺寸500x500
厂家定做 地笼螺栓 固定锚栓 m36-60
图片尺寸400x400