锚索恒阻器

skp22-1/1770(hs)恒阻伸长式矿用锚索,矿用恒阻器厂家
图片尺寸1000x750
恒阻伸长式矿用锚索
图片尺寸554x480
不反射电磁波锚索恒阻器 恒阻伸长式矿用锚索 fhj-20矿用恒阻器
图片尺寸800x800
恒阻大变形锚索·恒阻器
图片尺寸400x248
杆体抗拉强度大恒阻器 现货锚杆锚索恒阻器 hzs35-300-0.5恒阻器
图片尺寸800x800
矿用恒阻器 阻燃防腐伸长式锚索恒阻器skp22 型号齐全现货恒阻器 22
图片尺寸800x800
供应煤矿用中空注浆矿用锚索厂家直销
图片尺寸750x750
恒阻伸长式锚索 支护加固配件 skp-22-1/1860恒阻伸长式矿用锚索
图片尺寸900x900
现货恒阻伸长式矿用锚索 skp22-1/1860(hs)恒阻伸长式矿用锚索
图片尺寸800x800
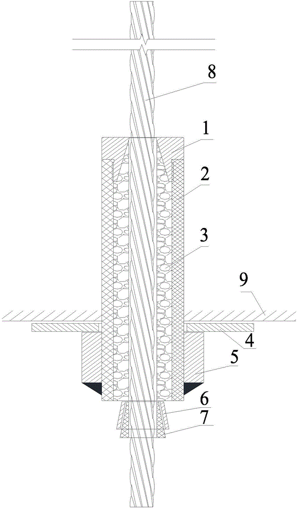
恒阻体与恒阻套管组件及npr锚杆/索
图片尺寸1534x790
5锚索恒阻器价格
图片尺寸750x1000
供应恒阻伸长式矿用锚索 skp22-1/1860(hs)恒阻伸长式矿用锚索
图片尺寸800x800
现货供应矿用恒阻伸长式矿用锚索 skp22-1/1770(hst)恒阻伸长式
图片尺寸600x600
恒阻伸长式矿用锚索
图片尺寸914x473
numerical study on npr cable-rock interaction usin
图片尺寸1575x766
锚杆(索)恒阻力匹配器-锚杆锚索测力计-山东卓力工矿设备有限公司
图片尺寸537x416
现货供应ms15矿用手动锚索退锚器矿用手动张拉机具液压锚索退锚器
图片尺寸919x858
一种抗冲击恒阻锚索
图片尺寸587x1000
主要产品是中空注浆矿用锚索,管缝式锚杆
图片尺寸600x600
中空隔音玻璃
图片尺寸800x800