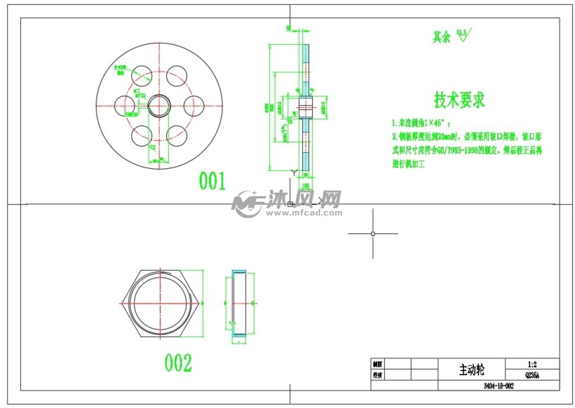
锯床主动轮结构图

cn102019465a_一种金属带锯床主传动装置失效
图片尺寸1413x2560
一种卧式带锯床锯轮安装结构制造技术
图片尺寸1000x915
木工机械mj900立式重型圆木带锯机-木工带锯机-木工锯床-木工机床
图片尺寸638x619
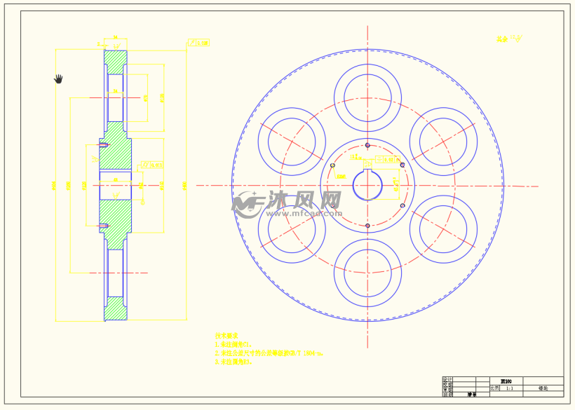
主动轮装配
图片尺寸820x582
金属带锯床设计
图片尺寸820x585
714 立式金属带锯床的设计与控制
图片尺寸727x484
一种连杆锯切锯床
图片尺寸1000x738
一种锯床主动传动装置的制作方法
图片尺寸604x417
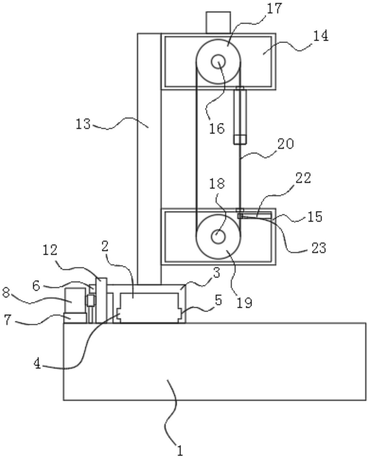
应用技术另一方面,如图1,图2所示,目前带锯床的主动锯轮与从动锯轮
图片尺寸937x1000
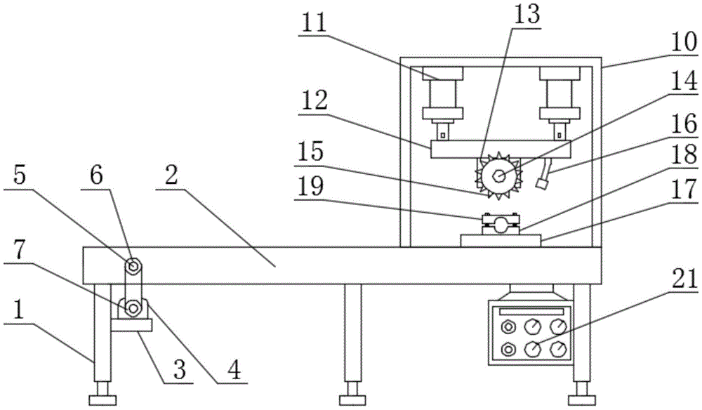
本实用新型涉及锯床技术领域,且公开了一种铝型材切割自动取料断料锯
图片尺寸1000x584
轮轮主动动轮飞盘动28动动被飞轮30342配件带锯床传轮4032从制
图片尺寸297x300
正川 带锯床主动轮 从动轮 被动轮 带锯轮轴4028 4232数控配件
图片尺寸800x800
锯床配件晨龙伟业远达恒力恒宇主动轮轴涡轮轴蜗轮轴从动轮轴
图片尺寸800x800
一种锯床底座移动传动机构
图片尺寸1222x1516
金属带锯床带锯使用操作说明
图片尺寸1627x1048
一种带有快速装夹机构的锯床的制作方法
图片尺寸458x429
金属带锯床配件主动轮从动轮被动轮4028带锯轮4232恒宇锯力煌晨龙
图片尺寸800x800
主动轮从动轮专用带锯床配件工厂直销伟业斯耐达晨龙神雕可定制做4240
图片尺寸990x743
金属带锯床配件主动轮从动轮被动轮4028带锯轮4232恒宇锯力煌晨龙
图片尺寸800x800
金属带锯床配件主动轮从动轮带锯轮4232得力伟业晨龙伟仁沪缙4028
图片尺寸800x800