门把手阻力臂图

由杠杆原理引发的汽车门把手的探究
图片尺寸920x1302
追问要图主要是画阻力壁和动力臂的图 lucky10 2018
图片尺寸450x329
画出各图中的动力臂l1和阻力臂l2
图片尺寸630x721
一,杠杆 f2 f1 动 力 l1 支点 o 动力臂 l2 阻力臂 阻 力 f2 f
图片尺寸1080x810
裁纸,加在裁纸刀上的动力为f,支点在0点,请在图中画出其对应的动力臂l
图片尺寸228x189
2,杠杆原理:动力(f1)*动力臂(l1)=阻力(f2)*阻力臂(l2) 3,杠杆的五
图片尺寸744x510
7,用一根轻质硬棒撬起一重600n的石头,其动力臂是1m,阻力臂是20cm,撬
图片尺寸631x288
动 力 ( 力 的 作 用 线 ) 力 的 作 用 线 支点 o 阻力臂 动力臂
图片尺寸1080x810
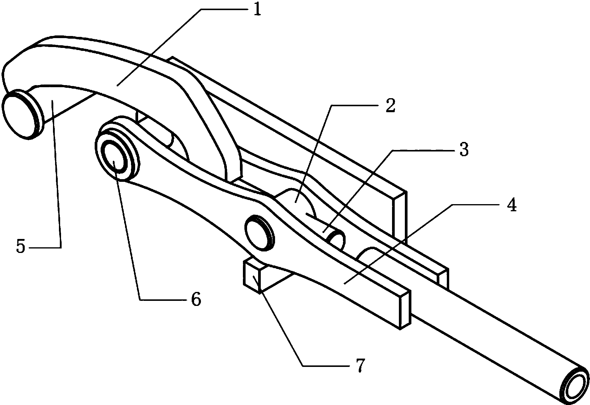
可卸式垃圾箱竖式门锁紧把手
图片尺寸1982x1361
杠杆aob所受动力f1的示意图及动力臂l1,阻力臂l2
图片尺寸293x233
杠杆五要素 动 力 f1 动 力 作 用 线 动力臂 l1 支点 o l2 阻力臂 阻
图片尺寸1080x810
cn207131224u_一种车辆及其车门把手机构,门外把手机构有效
图片尺寸1610x1497
2滑轮2021-2022学年人教版物理八年级下册(共35张p
图片尺寸860x484
从上式可看出,要使杠杆达到平衡,动力臂是阻力臂的几倍,阻力
图片尺寸713x474
当肱二头肌将重力为40n的铅球托起时,画出人的手臂受到的阻力f2的示意
图片尺寸352x390
o为支点,f1为动力,请做出把手(杠杆)动力f1的力臂l1,阻力f2及阻力臂l2
图片尺寸167x162
作出下列图中杠杆的动力臂l1和阻力臂l2. f2 f1
图片尺寸296x253
一种门把手的制作方法
图片尺寸826x1000
对拉杆产生的阻力是重力对拉杆的压力,则f =gcosθ,阻力臂为ob,(θ为
图片尺寸539x444
的力f 1,作用点在踏板上;过支点o做力f 1的垂线段,记为l 1,就是动力臂
图片尺寸482x214