门框简笔画

常见的门的简笔画
图片尺寸900x600
大门简笔画大门简笔画怎么画
图片尺寸700x400
门简笔画门怎么画
图片尺寸800x450
门的简笔画
图片尺寸600x400
大门简笔画大门简笔画怎么画
图片尺寸700x400
亲子一起画门简笔画
图片尺寸900x600
双扇门简笔画
图片尺寸500x766
春联简笔画图片大全
图片尺寸800x450
春联简笔画图片大全
图片尺寸800x450
门简笔画图片
图片尺寸500x406
中式门框简笔画
图片尺寸800x450
门的简笔画怎么画门简笔画画法
图片尺寸628x353
门框读音(门框 读音)
图片尺寸414x600
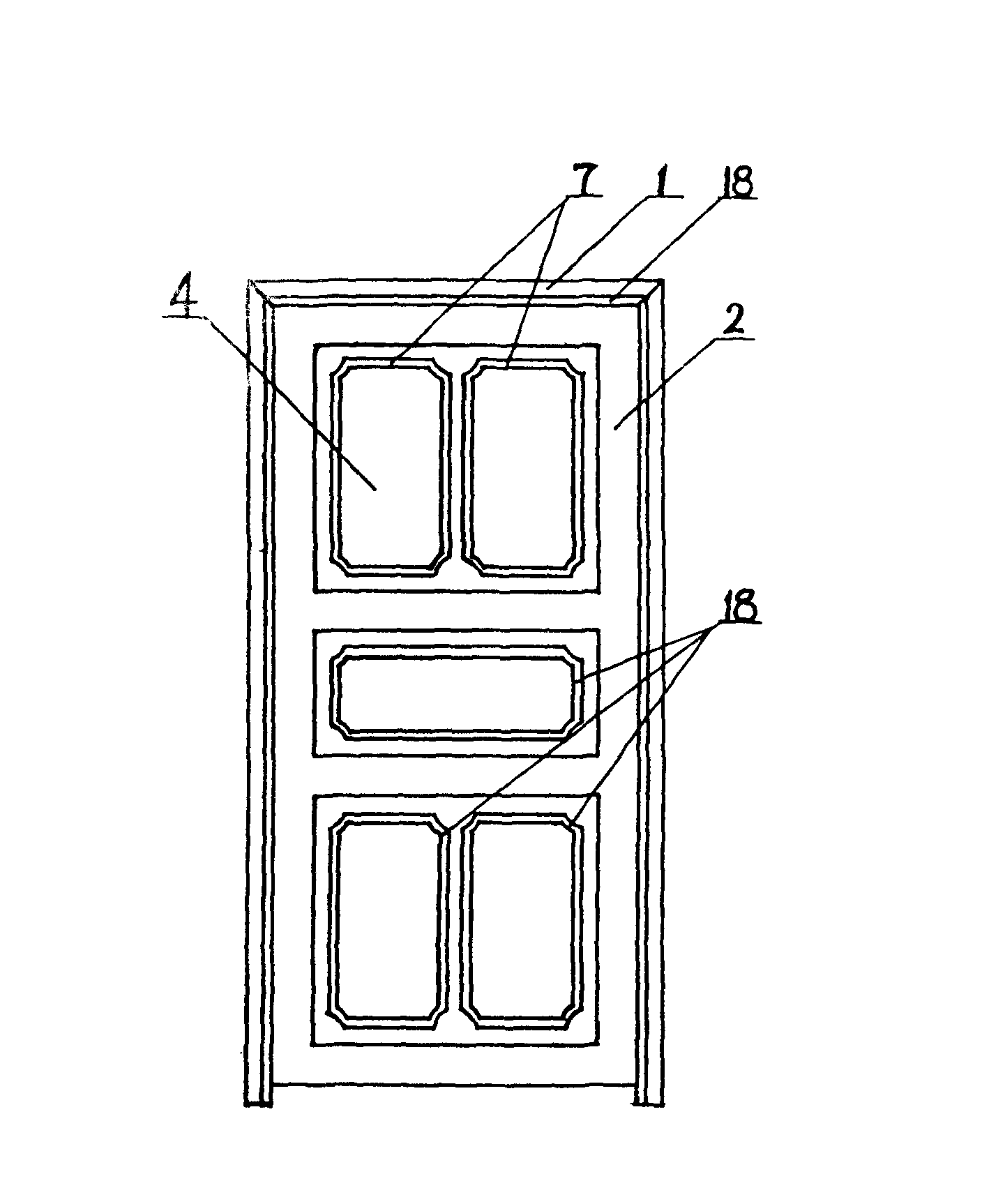
本实用新型涉及一种金属薄板门,包括门框,门扇和铰链,其特征在于门扇
图片尺寸1408x1726
门套口图片-门套口素材-门套口插画-摄图新视界
图片尺寸326x300
简笔画屋门怎么画
图片尺寸750x500
原创中国风建筑大门手绘线稿免抠
图片尺寸264x409
立体门框简笔画
图片尺寸750x500
门框(银盾580)
图片尺寸1256x925
简笔画之门
图片尺寸584x418