闸机简笔画

小区门禁简笔画
图片尺寸500x423
商标logo
图片尺寸1025x1535
cn112070912a_集验票与身份核对于一体的检票闸机在审
图片尺寸422x521
商标logo
图片尺寸626x556
2020224465707
图片尺寸400x351
cn306520397s_闸机
图片尺寸1351x2142
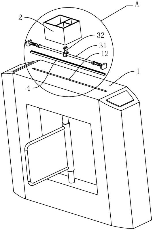
本实用新型涉及闸机领域,具体而言,涉及一种具有防
图片尺寸443x346
摘要附图摘要本实用新型涉及一种出入口的智能闸机
图片尺寸531x799
广东智能翼闸制造商 企业门禁考勤一卡通系统 闸机
图片尺寸594x464
商标logo
图片尺寸573x800
智能检疫通道闸机(左边道)
图片尺寸1716x1542
核算装置的制造及其应用技术
图片尺寸908x1000
核算装置的制造及其应用技术
图片尺寸957x1000
商标logo
图片尺寸255x251
商标logo
图片尺寸1526x1113
可快速通行的智能人行通道闸机专利_专利申请于undefin
图片尺寸1634x1824
道路铁路或桥梁建设机械的制造及建造技术
图片尺寸408x444
摘要附图摘要本实用新型公开了一种人脸识别闸机消毒
图片尺寸547x800
摘要附图摘要本实用新型提供了一种安全防护闸机,其
图片尺寸1147x1034
道路铁路或桥梁建设机械的制造及建造技术
图片尺寸841x1000