阀盖零件图cad

cadproe从零开始教学阀盖2d图
图片尺寸700x467
cadproe从零开始教学
图片尺寸1920x1088
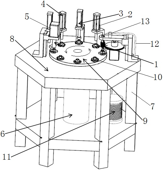
一种输水管阀盖密封条的旋切,压紧装置
图片尺寸519x542
cad装配图尺寸标注及明细表绘制技巧
图片尺寸744x572
cad绘制零件平面图
图片尺寸777x459
常用机械零件图基础学习资料127个cad初学者简单图机械图分享
图片尺寸640x368
按对角钱对称松开螺母,拧入顶丝,卸下阀盖
图片尺寸582x211
图片尺寸448x252
常用机械零件图基础学习资料127个cad初学者简单图机械图分享
图片尺寸640x417
cad机械零件平面绘制练习三
图片尺寸660x505
硬核cad教学:形位公差你知多少?
图片尺寸1106x712
常用机械零件图基础学习资料127个cad初学者简单图机械图分享
图片尺寸640x423
cad机械零件平面绘制练习七
图片尺寸843x501
常用机械零件图基础学习资料127个cad初学者简单图机械图分享
图片尺寸640x400
cad机械零件制图练习题
图片尺寸553x392
很多从事机械行业cad绘图的朋友来说,各类的cad零件肯定是都要接触的
图片尺寸640x461
很多从事机械行业cad绘图的朋友来说,各类的cad零件肯定是都要接触的
图片尺寸640x401
很多从事机械行业cad绘图的朋友来说,各类的cad零件肯定是都要接触的
图片尺寸640x380
图片尺寸448x252
cad机械零件制图练习题
图片尺寸554x362