阀门井cad

事故发生地点为林州市城乡供热有限公司供热一级管网247#阀门井,位于
图片尺寸1074x1000![[分享]室内阀门井资料下载](https://i.ecywang.com/upload/1/img0.baidu.com/it/u=3034454011,3606275354&fm=253&fmt=auto&app=138&f=JPEG?w=560&h=399)
[分享]室内阀门井资料下载
图片尺寸560x399
分享井下操作立式阀门井大样图资料下载
图片尺寸560x404
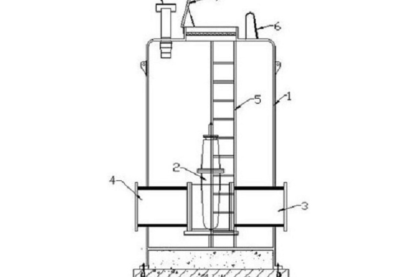
一种一体化预制阀门井
图片尺寸822x547![[分享]室内阀门井资料下载](https://i.ecywang.com/upload/1/img2.baidu.com/it/u=2753774318,1541729112&fm=253&fmt=auto&app=138&f=JPEG?w=560&h=394)
[分享]室内阀门井资料下载
图片尺寸560x394
分享排空管阀门井资料下载
图片尺寸560x430
分享井下操作立式阀门井大样图资料下载
图片尺寸560x405
智能升降柱系统图及安装大样图,cad格式
图片尺寸1080x532
软件内置丰富的标注样式,如管道标注,节点标注,井管标注,管线综合标注
图片尺寸900x478
玻璃钢污水检查井 市政雨水阀门井_性能优良_是一种_电缆
图片尺寸3072x4096
一分钟教你吃透|阀门|cad|施工图_网易订阅
图片尺寸640x1764![[分享]砖砌给水阀门井及水表井资料下载](https://i.ecywang.com/upload/1/img1.baidu.com/it/u=4270562409,2363215355&fm=253&fmt=auto&app=138&f=PNG?w=626&h=500)
[分享]砖砌给水阀门井及水表井资料下载
图片尺寸760x607
别熬夜了-高手必备的-cad标准图集可以直接调用-景观园建 给排水 电气
图片尺寸1080x528
作法大样图 涌泉管网安装图 涌泉喷头安装示意图 潜水泵井平面图
图片尺寸560x560
玻璃钢阀门井——工业管道的新选择-港骐
图片尺寸1920x1080
燃气工程质量通病阀门井施工图文讲解
图片尺寸563x331
收藏!超全cad图例符号画法大全
图片尺寸430x784
燃气工程质量通病---阀门井施工(图文讲解)
图片尺寸567x280
阀门井
图片尺寸670x502
三维管线模型与cad数据的格式转换三维管线模型与cad数据的格式转换
图片尺寸800x599