防撞墩设计图

隔离墩防撞结构详图钢筋混凝土结构
图片尺寸610x466
一种分散型桥墩防撞装置
图片尺寸1499x2185
混凝土防撞墩构造大样图设计(1张)
图片尺寸610x432
防撞墩结构图
图片尺寸560x357
cn112343010a_一种桥墩防撞防护装置在审
图片尺寸1000x802
公路混凝土防撞墩cad设计详图
图片尺寸800x600
防撞桶,界碑设计图
图片尺寸799x572
一种分层吸能式桥墩防撞装置的制作方法
图片尺寸968x1000
厂家供应水泥杆专用混凝土水泥防撞墩隔离墩交通防护设施加工定制
图片尺寸982x844
混凝土防撞墩构造大样图
图片尺寸349x275
防撞墩设计图
图片尺寸782x516
一种高强度车道防撞石墩
图片尺寸1000x737
水泥隔离墩 小区连杆防撞墩 高速公路混凝土交通设施路障水泥墩
图片尺寸790x1219
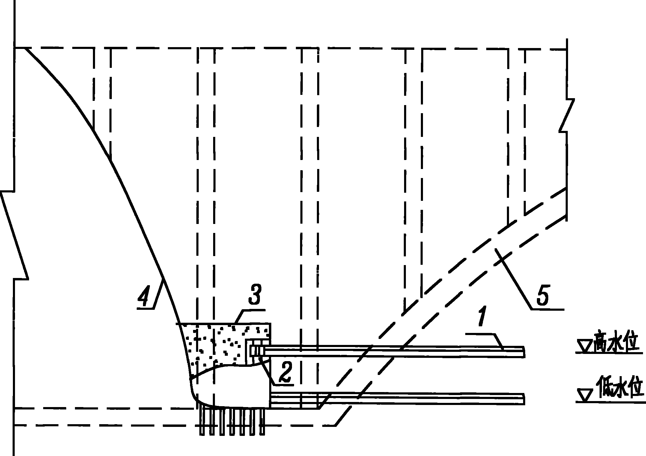
桥墩防撞护栏构造图
图片尺寸605x443
虎门这两座大桥即将增设防撞墩
图片尺寸1010x438
一种基于泡沫铝的桥墩防撞装置制造方法及图纸
图片尺寸1000x481
公路工程防撞墩设计图
图片尺寸610x861
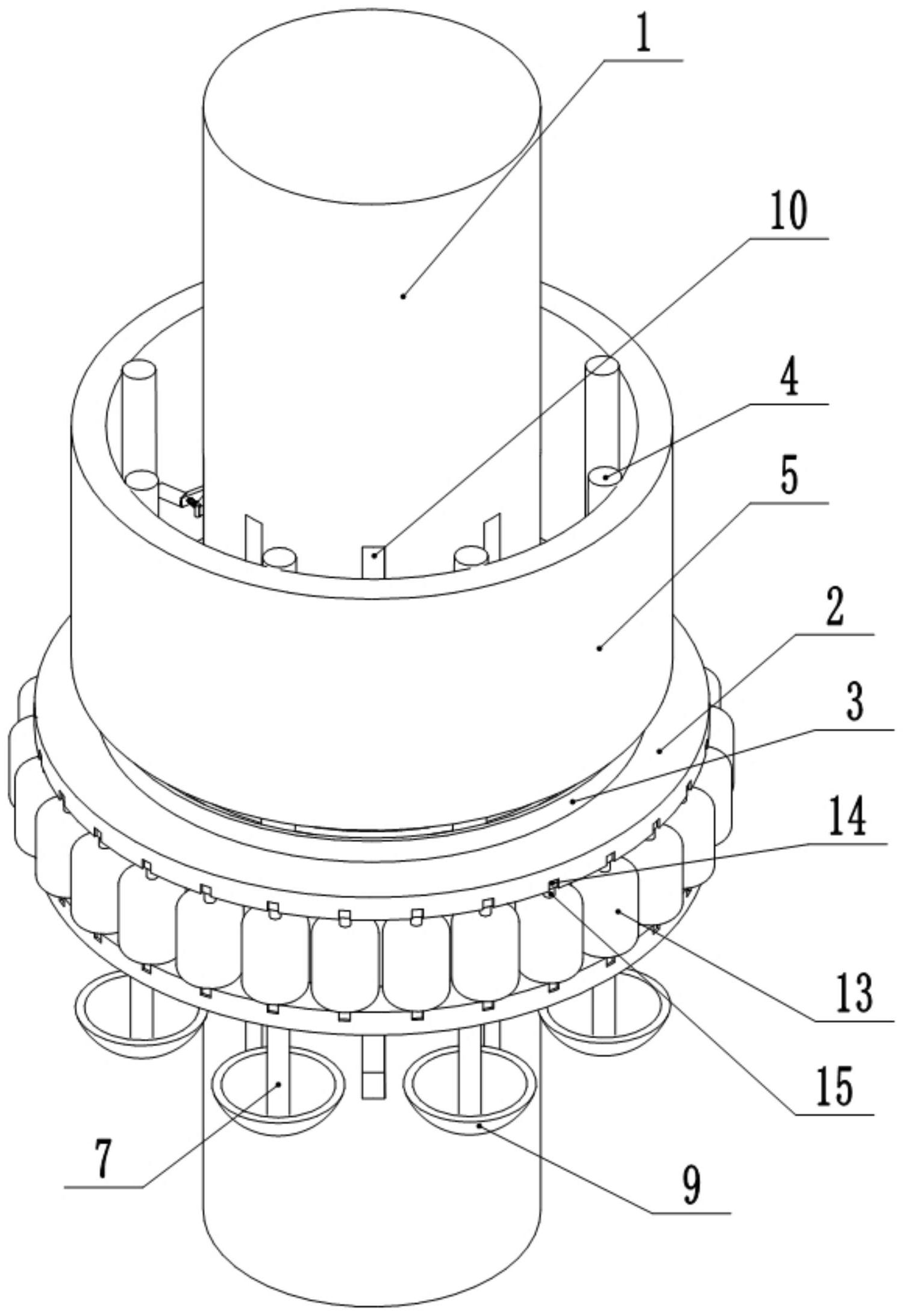
独立浮式桥墩防撞装置
图片尺寸2155x1519
公路工程防撞墩设计图
图片尺寸560x420
桥墩防撞护栏构造图
图片尺寸560x387