防火罩原理

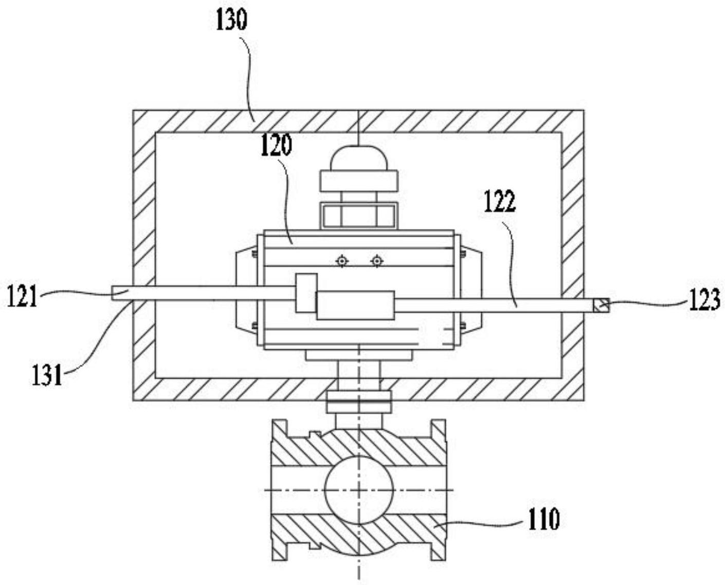
一种紧急切断阀用防火罩
图片尺寸1410x1137
消防救援逃生避火罩便携铝箔自救避火帐篷阻燃隔热防火帐篷防火罩康荣
图片尺寸750x750
一种便携柔性防火罩-爱企查
图片尺寸1566x1079
汽车防火罩阻火器排气管防火安全帽熄火器灭火罩汽车防车用加厚款30
图片尺寸750x965
汽车防火罩13921772886 - 抖音
图片尺寸1440x1920
临沂汽车阻火器批发 碳钢货车油罐车火星熄灭器j6 防火帽 防火罩
图片尺寸790x1312
机动车排气筒防火罩 阻火器 汽车防火帽 熄灭器 厂家
图片尺寸750x750
图文解析"防排烟系统",简单易懂!
图片尺寸640x531
汽车排气筒防火罩叉车危险品运输车排气管阻火器车用阻燃防 防火罩
图片尺寸750x753
汽车防火帽防火罩阻火器排气管正品包邮消防器材多种规格可选
图片尺寸800x800
上海ul1709防火罩
图片尺寸752x752
柔性防火罩_防火罩_浙江挺宇流体设备股份有限公司
图片尺寸348x408
谋福汽车防火罩阻火器防火罩油罐车化工危险品排气管防火汽车罩加厚款
图片尺寸800x800
供应加厚汽车防火帽阻火器阻火帽防火阀防火罩危化场所车辆
图片尺寸500x498
汽车防火罩阻火器防油罐车化工危险品排气管防火熄火器灭火罩加厚阻火
图片尺寸790x1274
叉车排气筒防火罩阻火器排气管防汽车排气安全帽熄火器 灭火罩 加厚50
图片尺寸800x800
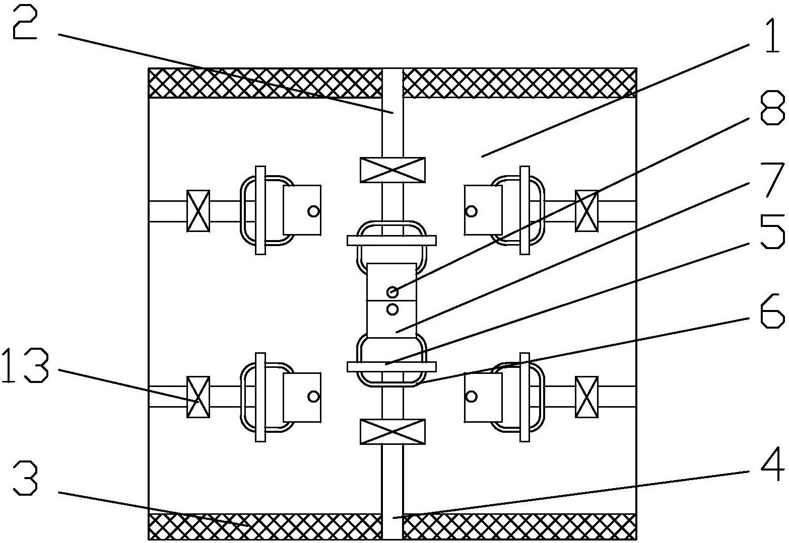
执行器防火罩 柔性防火罩 防火罩
图片尺寸460x613
猛速 适用于汽车货车柴油机叉车尾气排气管排气筒防火罩合力杭州龙工
图片尺寸800x800
供应烟罩自动灭火装置cmjs10-1
图片尺寸682x488
汽车防火罩排气管尾气通用阻火器车用货车叉车车辆熄火灭火帽
图片尺寸800x800