限位开关怎么画

一种速动式限位开关
图片尺寸1574x1891
一种十字限位开关-爱企查
图片尺寸800x578
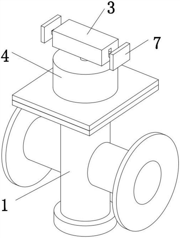
一种防爆式流体阀用限位开关-爱企查
图片尺寸800x788
一种车床行程限位开关-爱企查
图片尺寸1492x1256
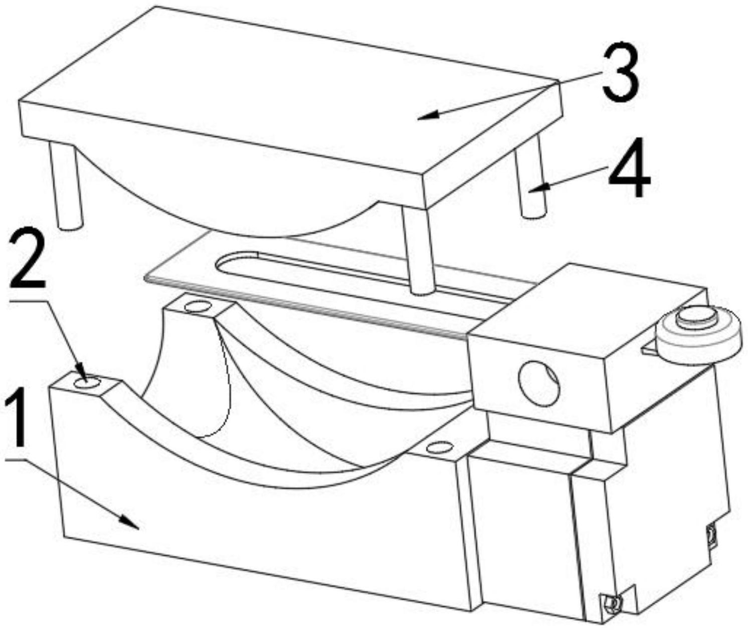
一种模块化限位开关及其制作方法-爱企查
图片尺寸1416x1879
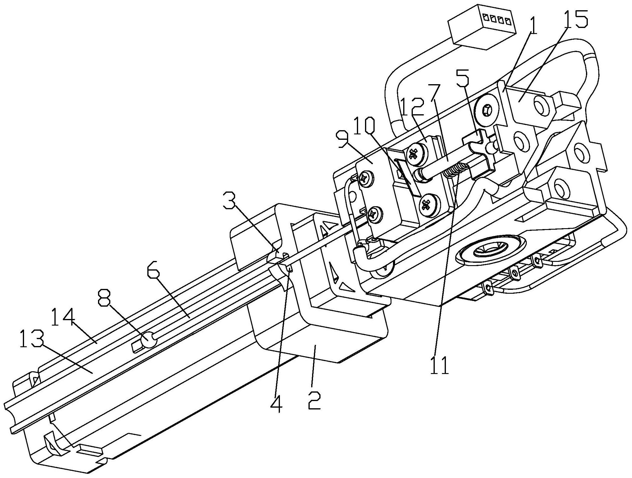
一种便于维护的智能阀门限位开关-爱企查
图片尺寸606x800
阀门限位开关(ds400)-爱企查
图片尺寸799x647
一种智能旋转限位开关-爱企查
图片尺寸369x462
限位开关
图片尺寸624x1020
限位开关
图片尺寸628x1024
阀门限位开关ds200
图片尺寸1013x831
限位开关
图片尺寸760x940
一种监测核级阀门开闭状态的核级限位开关的制作方法
图片尺寸534x384
限位开关的制作方法
图片尺寸733x1000
一种监测核级阀门开闭状态的核级限位开关的制作方法
图片尺寸534x378
cn1369892a_限位开关有效
图片尺寸957x891
一种用于丝杆的上限位开关-爱企查
图片尺寸2102x1590
一种用于石油设备的限位开关的制作方法
图片尺寸443x323
cn2772005y_电梯井道限位控制开关失效
图片尺寸1168x1417
限位开关有哪些?
图片尺寸640x463