隐形门平面图

博腾解析木饰面隐形门安装原则不看包你后悔
图片尺寸1100x750
隐形门通用施工图hjsj-2022
图片尺寸1080x1439
隐形门细节工艺
图片尺寸1080x1439
隐形门安装方法及施工工艺,三分钟带你了解清楚!
图片尺寸564x846
两种常见隐形门结构和配套五金锁具
图片尺寸640x405
韩国原装进口智玛zrma隐形门液压合页自动闭门器定位阻尼缓冲铰链_双
图片尺寸790x992
隐形门装上这样的五金配件,竟然这么美 - 知乎
图片尺寸1080x934
tk29隐形门隐藏门cad施工图纸节点大样图图片参考图合集
图片尺寸800x800
隐形门制作施工 - 燕郊鑫盛峰装饰工程有限公司 - 燕郊家装专家,提供
图片尺寸790x362
定制家网|隐形门的结构和尺寸计算_手机搜狐网
图片尺寸653x391
谁弄的隐形门,去做客害我找不到卫生间_装修达人_装修头条_齐家网
图片尺寸784x616
隐形门大样图-免费3dmax模型库-欧模网
图片尺寸1800x1260
隐形门
图片尺寸650x416
隐形门设计-家装服务-猪八戒网
图片尺寸3264x2448
餐厅暗门详图_2022年餐厅暗门详图资料下载_筑龙学社
图片尺寸760x570
平开式隐形门的做法工艺揭秘-南昌室内设计培训学校
图片尺寸853x355
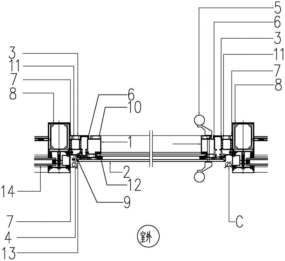
一种可防水的隐框平开门专利_专利申请于2018-12-07_专利查询 - 天眼
图片尺寸1000x915
隐形门的常见形式及构造做法,都在这里了!-搜狐大视野-搜狐新闻
图片尺寸600x702
cad卫生间隐形门节点大样图图片_室内装修_编号9043295_红动中国
图片尺寸2500x5866
如何细化别墅生活?_签到试贴_室内设计联盟 - powered by discuz!
图片尺寸1200x1475