隔膜泵简图

隔膜计量泵之固定冲程隔膜泵的结构改进
图片尺寸645x507
隔膜式计量泵的原理及结构图
图片尺寸640x489
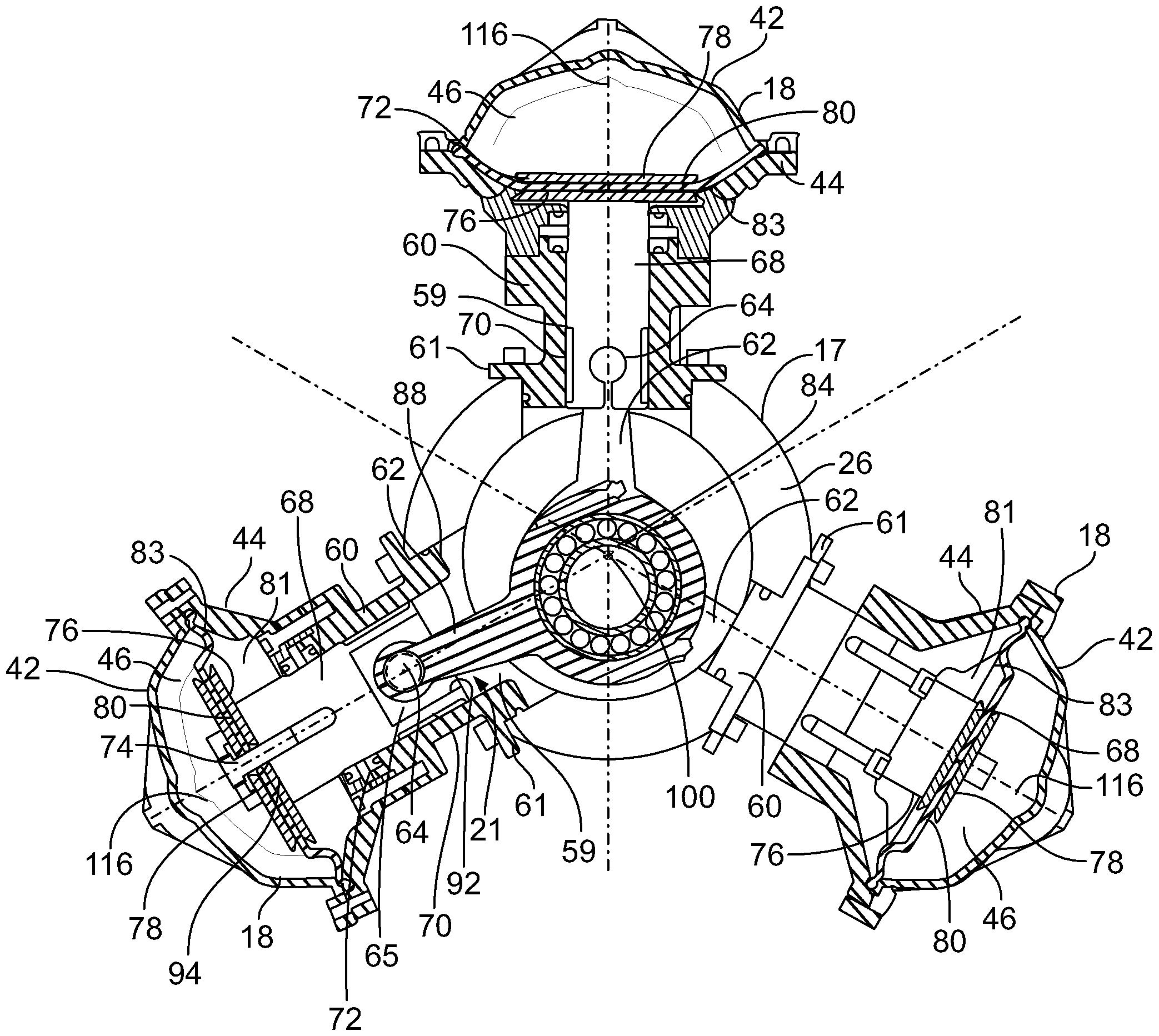
带有偏移滑块曲柄的电动隔膜泵
图片尺寸2086x1865
dby型电动隔膜泵
图片尺寸985x1275
cn112228333a_一种高吸程气动隔膜泵在审
图片尺寸1550x1555
气动隔膜泵qbk-50
图片尺寸1197x732
p2r系列-p2r系列 塑料气动隔膜泵
图片尺寸1360x1096
隔膜泵的工作原理和结构
图片尺寸1080x1231
cn2661963y_气动隔膜泵失效
图片尺寸537x600
qby-65气动隔膜泵
图片尺寸595x709
qby 系列气动隔膜泵
图片尺寸680x761
kd型机械隔膜式计量泵
图片尺寸680x506
cn2174575y_隔膜式计量泵失效
图片尺寸2496x1824
qby系列 气动隔膜泵
图片尺寸439x389
隔膜泵结构图
图片尺寸668x364
隔膜泵的工作原理及结构
图片尺寸310x514
skylink斯凯力气动隔膜泵ls25,ss-aa-t/n-tt-tt-00
图片尺寸1653x1479
隔膜泵遇到腐蚀磨损该如何解决?
图片尺寸625x440
气动隔膜泵a-15
图片尺寸650x544
cn103925200b_一种气动隔膜泵有效
图片尺寸1000x935