集装箱接线图

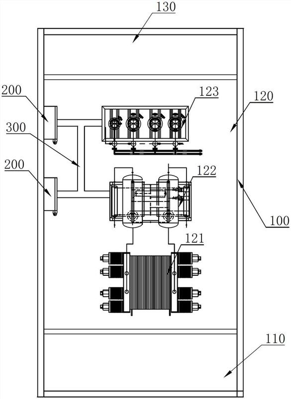
一种用于电动船的集装箱式可移动充电宝系统
图片尺寸1920x1045
电动机全波能耗制动控制接线示意图
图片尺寸644x540
应用案例 invt-chv100在集装箱装卸机中的应用 5,变频器接线,调试
图片尺寸555x510
集装箱板房内有一个配电箱,主电源五芯电缆线中的三条相(l1,l2,l3)线
图片尺寸1404x841
b区照明配电箱系统图一图片_接线图分享
图片尺寸496x287
施工现场临时用电配电箱(柜)配置资料!
图片尺寸836x570
装箱机电气图
图片尺寸708x346
led 集装箱吊具信号 表示灯ssl300-km
图片尺寸416x200
2,运输方便,系统按集装箱尺寸进行设计;1,安装简单,只需要一个接口
图片尺寸600x400
货运港口电动车 集装箱装卸
图片尺寸601x220
集装箱三维图
图片尺寸998x749
箱式变电站外壳发电机组集装箱鼎胜电气规格标准
图片尺寸750x750
产品名称:发电机组光伏逆变集装箱_接线图分享
图片尺寸790x527
一种具有一体式防爆接线箱的电解水制氢集装箱-爱企查
图片尺寸585x800
配电箱接线图
图片尺寸484x354
集装箱房子分布图
图片尺寸1020x1440
控制器外接线端子示意图
图片尺寸600x339
集装箱建筑适应性设计与建造研究(4)
图片尺寸697x522
益展 接线鼻 dt-35 平朔货柜专用 一袋 60个/袋
图片尺寸800x800
产品名称:发电机组光伏逆变集装箱_接线图分享
图片尺寸729x319