预埋图纸

预埋件结构大样图-1
图片尺寸1778x1257
老师 这个预埋钢筋怎么计算,可以给个公式吗
图片尺寸1735x885
中铁二局五公司苏州轨道5-16项目预埋件采购(收货合格后三个月付款)
图片尺寸1888x1760
预埋件尺寸图350
图片尺寸1919x1486
很详细的家庭装修水电预埋网线布线图
图片尺寸960x733
预埋管道
图片尺寸819x459
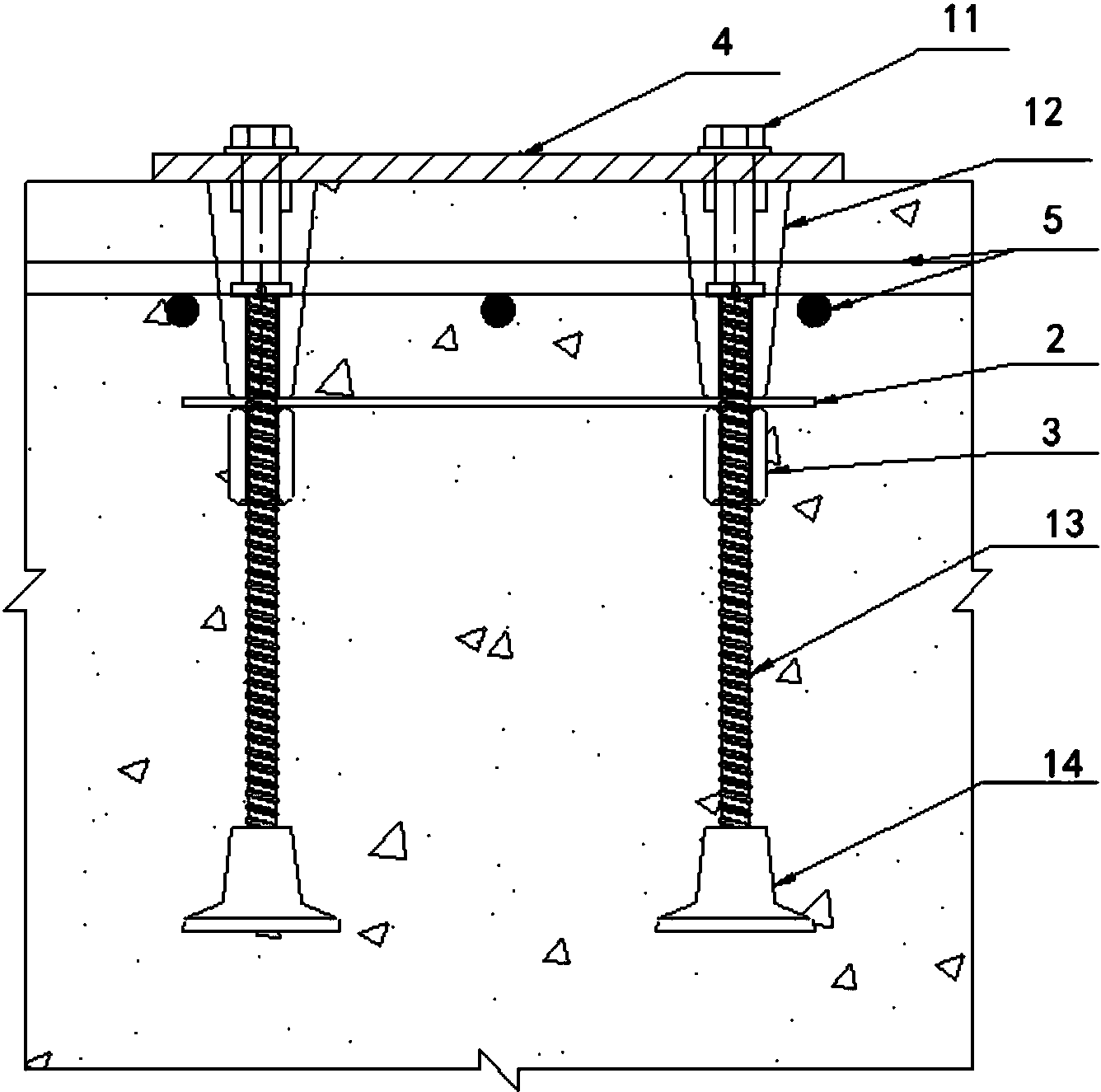
一种爬锥预埋系统
图片尺寸1336x1325
预埋图纸上rs是什么
图片尺寸612x816
东莞七度照明常规4米庭院灯预埋基础图纸
图片尺寸800x1117
室外配套图纸中这个预埋件是怎么算
图片尺寸487x667
内容简介 某预埋件构造配筋节点构造详图,共1张图纸
图片尺寸823x539
消防预埋管布置图
图片尺寸1200x1600
预埋螺栓应该怎么计算?
图片尺寸2448x3264
某钢筋混凝土结构中的预埋件节点图集
图片尺寸853x606
在施工图纸中,遇到这样一个预埋件,红框内的标注不太明白,请大家详细
图片尺寸633x442
大型水平设备基座预埋施工方法创新
图片尺寸451x492
二,准备工作 (1),图纸的熟悉 预埋螺栓的施工质量好坏关系到整个工程
图片尺寸893x402
混凝土墙内预埋件大样图
图片尺寸567x334
预埋件详图
图片尺寸777x551
预埋件大样图.jpg
图片尺寸760x608