颌骨囊肿塞治器

一种3d打印步退式颌骨囊肿塞治器
图片尺寸444x394
一种改良义齿型颌骨囊肿塞置装置
图片尺寸1871x2215
颌骨囊肿开窗治疗及二期激光微创治疗病例展示 - 好大夫在线
图片尺寸800x533
单县中心医院首次制作囊肿塞治疗巨大颌骨囊肿
图片尺寸700x467
tianck medical consumable cardiology angiography ptca
图片尺寸800x800
jiangsu huada medical device co.ltd
图片尺寸2540x2004
一种颌骨囊肿摘除术的活动式阻塞器
图片尺寸1000x631
一种改良义齿型颌骨囊肿塞置装置的制作方法
图片尺寸844x1000
画外音:囊肿切除后,根管内可能还有血性液体不易吸净,故根管仅用根充
图片尺寸620x470
一种颌骨囊肿塞的制作方法
图片尺寸1000x778
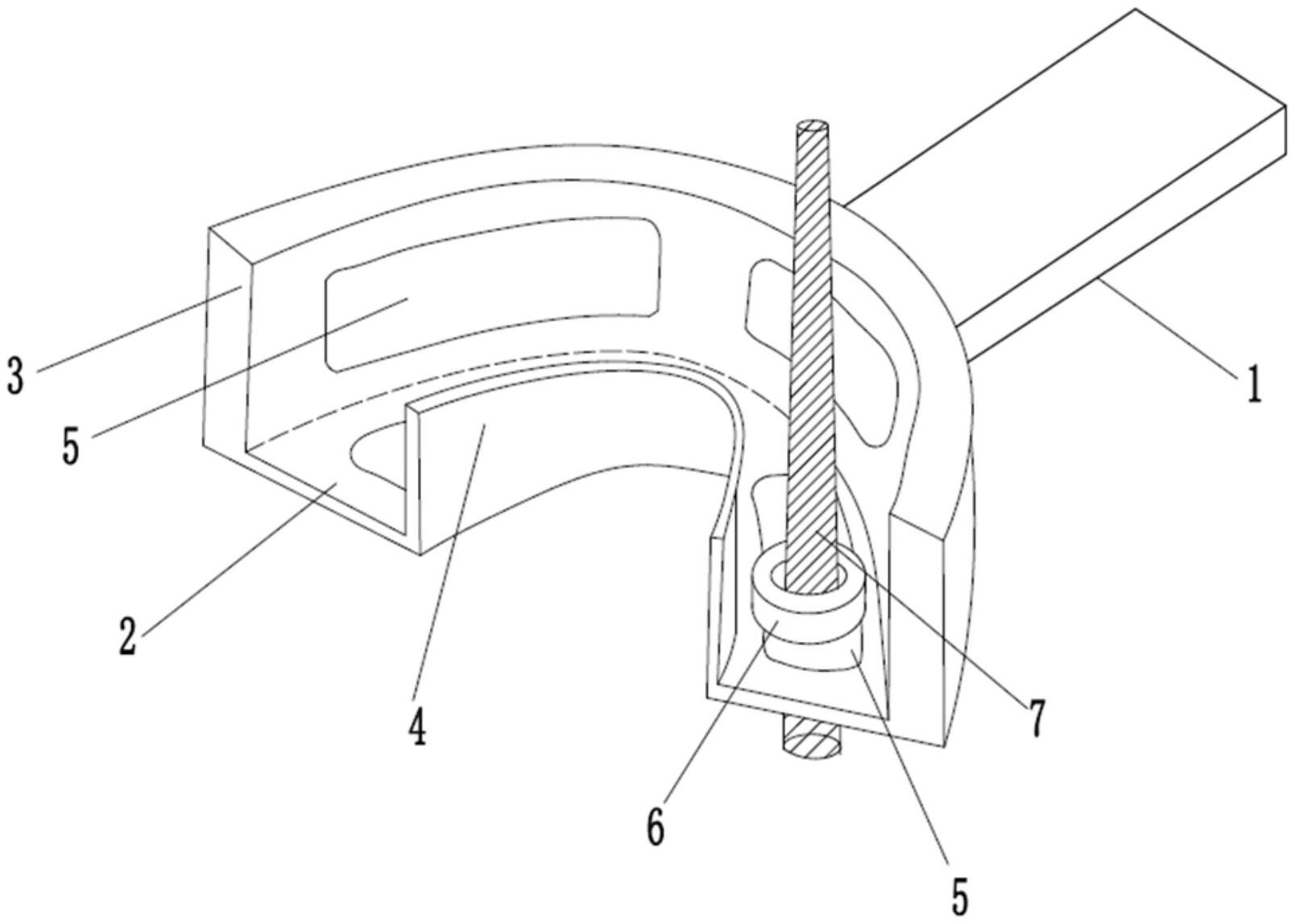
一种可调式颌骨囊肿塞治器印模托盘
图片尺寸1579x1074
颌骨囊性病变开窗引流负压阻塞装置
图片尺寸616x472
一种颌骨囊肿开窗减压阻塞器的制作方法
图片尺寸910x1000
颌骨囊肿开窗治疗及二期激光微创治疗病例展示 - 好大夫在线
图片尺寸800x533
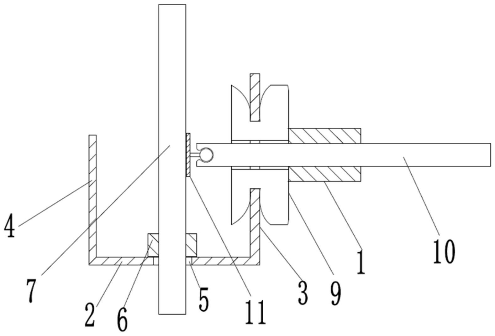
一种可调式颌骨囊肿塞治器印模托盘
图片尺寸1000x715
一种可调式颌骨囊肿塞治器印模托盘
图片尺寸1608x1147
遇到长了颌骨囊肿的患者怎么办?是大手术吗?_治疗
图片尺寸640x426
开窗减压术在颌骨囊肿治疗中的应用
图片尺寸1449x1983
摘要:本发明提出了一种颌骨囊肿开窗减压术后即刻制作塞治器的方法
图片尺寸443x291
下颌肿物3年余"于2020年1月在我院口腔科行"右侧下颌骨囊肿开窗术",术
图片尺寸430x639