颗粒机结构图

批发电动饲料颗粒机 杂草麦麸饲料制粒机 牛羊饲料颗粒成型机
图片尺寸800x800
现货供应yk-160摇摆式造粒机摇摆式颗粒机固体冲剂速溶颗粒机
图片尺寸1024x768
稻壳颗粒机结构示意图.jpg
图片尺寸750x585
摇摆式颗粒机的工作原理
图片尺寸488x430
型号齐全 yk系列摇摆颗粒机 干法高效制粒机 旋转颗粒机 价格优惠
图片尺寸830x435
饲料制粒机
图片尺寸758x971
cn213193605u_一种能够提高制粒效率的摇摆颗粒机
图片尺寸1758x1851
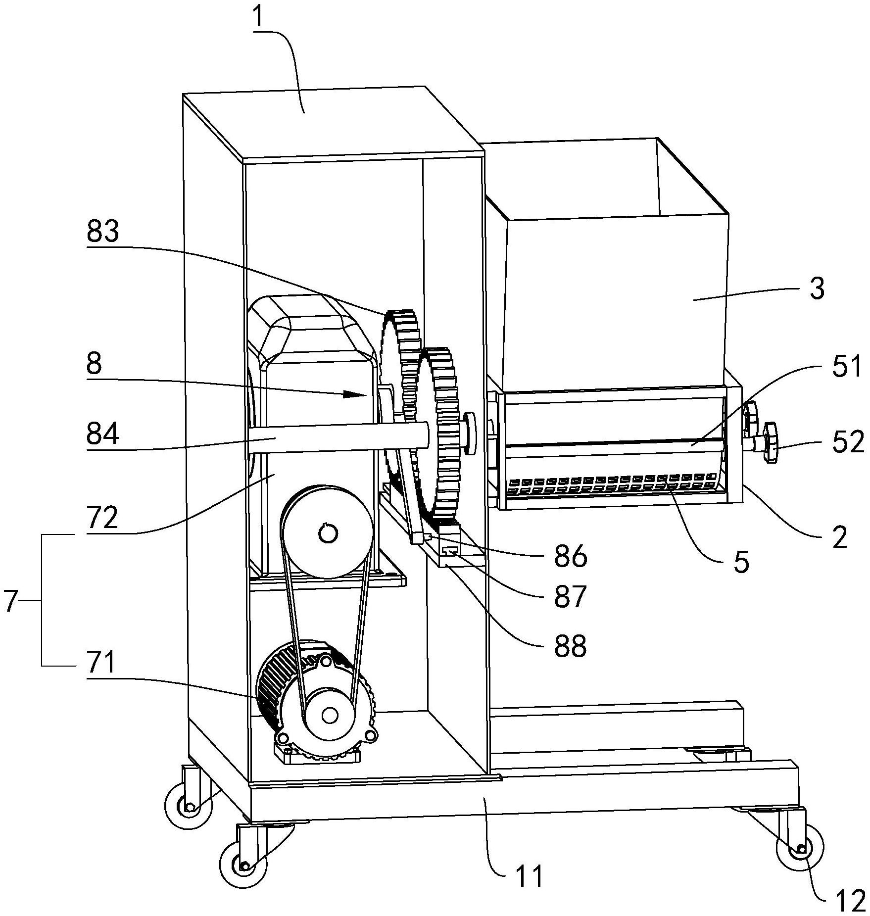
一种便于上料的饲料加工用颗粒机的制作方法
图片尺寸934x1000
厂家生产 立式沸腾制粒机 医学颗粒机 各类生物质沸腾颗粒机批发
图片尺寸750x498
一种生物质颗粒机的制作方法
图片尺寸1000x908
颗粒机
图片尺寸575x503
摇摆式颗粒机的工作原理
图片尺寸354x334
湿法混合制粒机高速混合制粒机制粒机造粒机湿法制粒机
图片尺寸750x547
cn2894821y_立式平模造粒机失效
图片尺寸1892x1898
环模颗粒机的主体结构优化研究二
图片尺寸471x416
一种生物质颗粒机制造技术
图片尺寸1000x868
环模颗粒机结构图
图片尺寸499x482
一种生物质颗粒生产用造粒设备制造技术,生物质颗粒造粒机专利_技高网
图片尺寸855x1000
环模颗粒机内部结构详解
图片尺寸689x524
cn205550216u_摇摆式颗粒机有效
图片尺寸909x1000