风动幕墙构造

风动幕墙的制作方法
图片尺寸422x443
干货什么是风动幕墙
图片尺寸1280x785
上海风幕机什么牌子好,上海风幕机厂家直销在哪里卖(6)
图片尺寸640x478
内循环机械通风型【玻璃幕墙】系统
图片尺寸565x432
风动景墙风铃幕墙的设计方法结构形状及材质
图片尺寸1080x548
幕墙通风结构
图片尺寸2656x1621
北京公馆双层幕墙构造示意图内循环式(机械通风型)双层幕墙系统内循环
图片尺寸900x1095
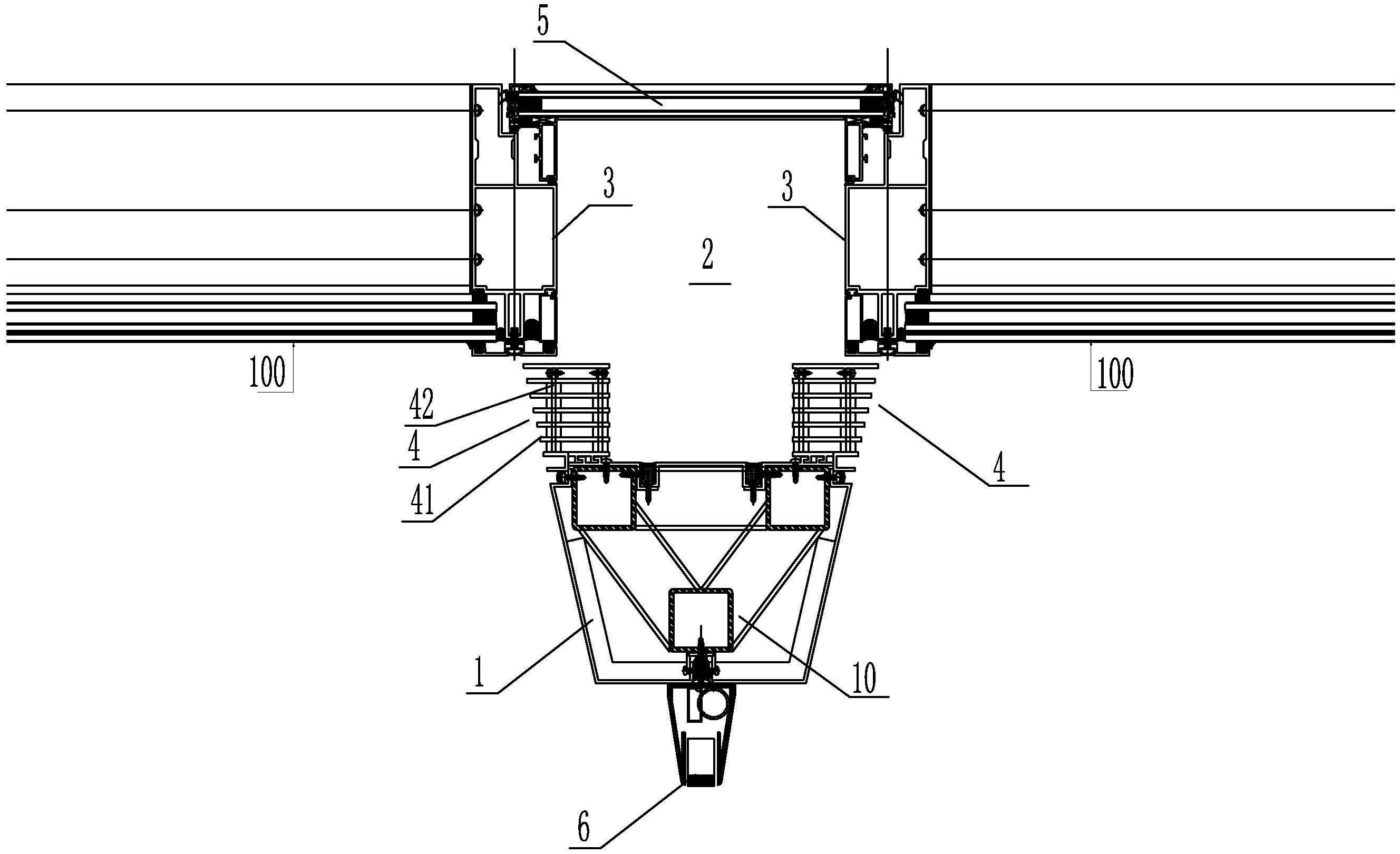
一种具有摆轴的风动幕墙结构的制作方法
图片尺寸681x1000
风动幕墙亮片的排版设计戈雅雕塑
图片尺寸640x517
一种风动幕墙结构的制作方法
图片尺寸443x223
玻璃幕墙惊艳又通透,但你知道其分类和成本构成吗?
图片尺寸579x729
风动鳞片幕墙安装结构的制作方法
图片尺寸443x348
极幕风动幕墙,让建筑随风舞动
图片尺寸640x474
典型的内循环式双层幕墙构造示意图.jpg
图片尺寸1080x1284
风幕机制造技术
图片尺寸1000x767
什么是风动幕墙
图片尺寸880x660![[安徽]玻璃幕墙深化设计施工图(2017)](https://i.ecywang.com/upload/1/img0.baidu.com/it/u=4111619427,4186715497&fm=253&fmt=auto&app=138&f=PNG?w=405&h=500)
[安徽]玻璃幕墙深化设计施工图(2017)
图片尺寸526x649
建筑幕墙构造图集
图片尺寸1109x984
金属幕墙
图片尺寸698x395
幕墙基础知识-单元式幕墙
图片尺寸667x452