风箱的原理

风箱来源和原理
图片尺寸640x347
风箱的活塞板实际是一块立在箱内的长方形夹板,略小于箱体,四周是一圈
图片尺寸848x568
研究"风箱",我不懂,也找不到风箱给我研究,那位能告诉我风箱的原理呢?
图片尺寸419x386
技术讲堂油液乳化曲轴箱强制通风
图片尺寸1000x667
为农户用的一种风箱的结构示意图,其中在a,b,c,d四处分别装有单向通风
图片尺寸408x369
风箱里的乡愁和故事
图片尺寸640x454
曲轴箱强制通风系统(pcv)ppt
图片尺寸1080x810
木风箱
图片尺寸980x615
德系车烧机油已实锤,发动机结构使然,但只在中国烧是真的吗?
图片尺寸640x508
你知道吗老旧厨房中不起眼的风箱曾让中国科技领先世界几千年
图片尺寸573x253
曲轴箱通风阀坏了的症状,曲轴箱通风阀故障现象
图片尺寸531x423
排放控制系统认识与检修ppt
图片尺寸1080x810
大型风电齿轮箱关键设计技术
图片尺寸842x698
风箱原理及构造
图片尺寸400x254
一种管式高效送风箱的制作方法
图片尺寸1000x678
我的人生路九
图片尺寸366x205
风力发电原理(控制)ppt
图片尺寸1080x810
森德康舒美混风箱 - zehnder瑞士森德康舒系列 - 沈阳安娜学装饰工程
图片尺寸1032x903
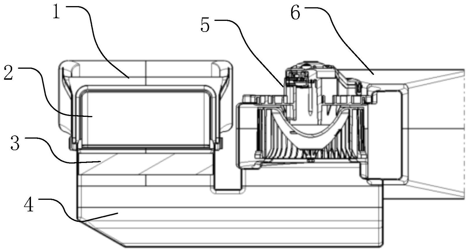
一种汽车空调进风箱结构-爱企查
图片尺寸1619x869
obj-0259
图片尺寸800x671