飞乐

首例飞乐音响虚增收入败诉超2000名股民获赔3亿多
图片尺寸750x500
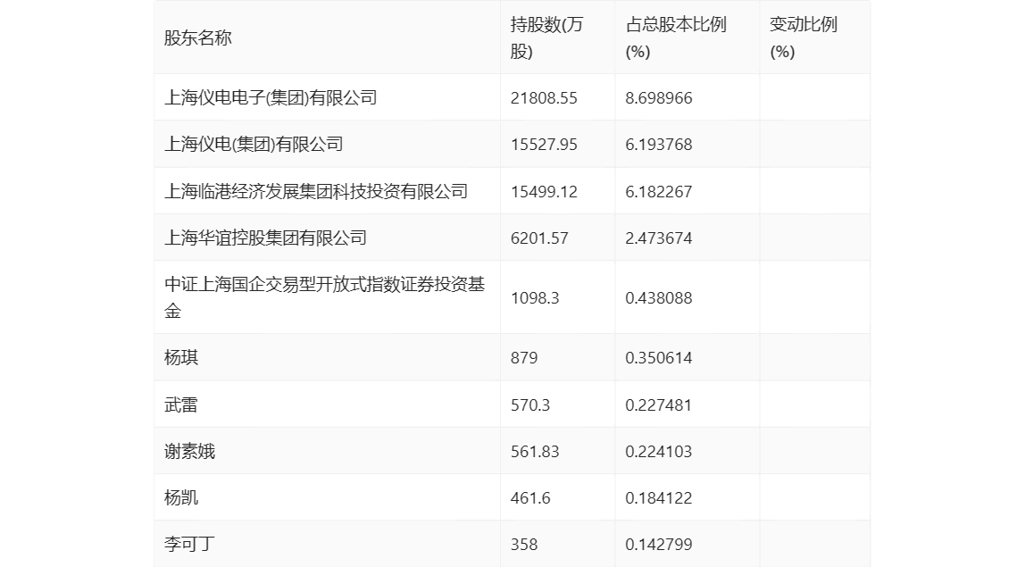
飞乐音响2023年净利378512万元同比下降8785
图片尺寸1148x699
飞乐音响2023年净利378512万元同比下降8785
图片尺寸1148x776
飞乐音响600651股票怎么样600651业绩如何
图片尺寸800x460
飞乐品牌网面透气男童板鞋女童小白鞋童鞋新款批发-阿里巴巴
图片尺寸800x800
飞乐音响6006513月25日主力资金净买入214488万元
图片尺寸680x328
飞乐琴行
图片尺寸630x414
红灯收音机
图片尺寸240x240
飞乐出口典藏6.5寸一纸到边高音杯发烧全频喇叭德国纸盆hifi喇叭
图片尺寸660x505
报名丨忙趁东风放纸鸢与飞乐音乐相遇2024年风筝节亲子狂欢模式来袭
图片尺寸660x1174
实力认证飞乐环保取得危废经营许可证
图片尺寸1080x760
飞乐音响连续5日遭北上资金净卖出累计卖出214661万元
图片尺寸750x558
网易首页>网易号>正文申请入驻> 来源:雪球app2021年3月30日 , 飞乐
图片尺寸660x946
网易首页>网易号>正文申请入驻> 2017年8月26日,飞乐音响公司发布2017
图片尺寸660x1075
2月8日飞乐音响600651资金流向概况
图片尺寸1800x800
飞乐音响2023年净利378512万元同比下降8785
图片尺寸1148x635
网易首页>网易号>正文申请入驻> 2018年4月13日,飞乐音响公司在其发布
图片尺寸660x968
飞乐音响600651股票走势怎么样在板块中排名好不好
图片尺寸800x690
飞乐音响03月08日获沪股通增持4846万股
图片尺寸670x200
飞乐音响2023年净利378512万元同比下降8785
图片尺寸1148x619