饮水机桶结构

2g6g11g家用商用储水罐直饮ro纯水机通用配件 6g压力桶 2分球阀)
图片尺寸790x767
桶装饮水机内部结构曝光(3)
图片尺寸500x350
如图1-4所示为饮水机的管路结构和工作原理示意图.
图片尺寸1179x1074
净水器压力桶家用直饮水机储水罐32g11g20g反渗透ro纯水机储水桶20g桶
图片尺寸750x1163
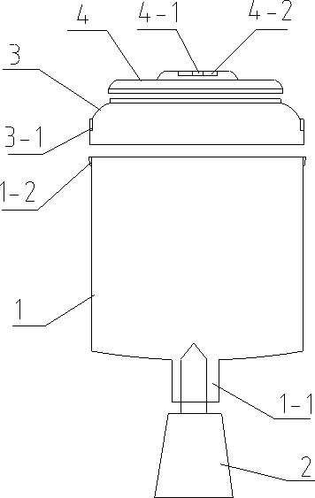
一种新型结构的饮水机水桶
图片尺寸356x563
陶瓷家用净水器带过滤缸储水罐客厅水缸龙头大小号水桶饮水机白釉鱼跃
图片尺寸750x581
饮水机的内部是什么结构,如何清洗干净饮水机呢
图片尺寸500x449
饮水机配件不锈钢饮水机内胆加热桶加热罐通用制热器烧水壶热水器4
图片尺寸750x750
小米【mi】米家适用饮水机家用办公室桶装水立式制冷制热两用全自动
图片尺寸790x1198
饮水机的制作方法
图片尺寸618x1000
饮水机构造,饮水机内部结构示意图及工作原理 - 鸥美装修资讯
图片尺寸312x333
饮水机c4d内部结构
图片尺寸1280x720
一种用于反渗透直饮水机的防漏水结构
图片尺寸1426x1168
厂家直销鼎马桶装水饮水机立式冷热型温热普通型单门饮水机
图片尺寸1080x1920
饮水机应该如何选购及清洁?|消毒液|压缩机|饮用水|桶装_网易订阅
图片尺寸640x960
饮水机过滤器桶/净水桶/加厚桶/6层滤芯 *采用完全健康型的结构杉破
图片尺寸740x893
饮水机配件不锈钢饮水机内胆加热桶加热罐通用制热器烧水壶热水器5号
图片尺寸750x411
饮水机内部水路导向结构
图片尺寸1866x2389
龙泉社区志愿服务"泉"心为民促健康|水箱|饮水机|桶装水|消毒液_网易
图片尺寸660x880
cn110731701a_即热式饮水机的出水结构在审
图片尺寸772x1000