马槊杆制作图

您有一份马槊实战技巧请查收!骑兵马战的冷兵王者,怎么用才对?
图片尺寸653x421
为何中国马槊三年造一支欧洲骑枪却是一次性工具
图片尺寸424x475
少林寺武术器械草木竹石均可为兵刃鼎盛可达二百八十种
图片尺寸543x616
丈八蛇矛是一丈八尺还是一丈零八寸?说说中国古代长骑枪发展史
图片尺寸595x281
马槊模型
图片尺寸970x766
一个真男人必须了解的13个武器知识
图片尺寸1280x977
诸葛亮的木牛流马的真实样子,带你揭开诸葛亮的面纱
图片尺寸2000x894
这些古代著名的建筑师你都知道吗?
图片尺寸690x539
马槊
图片尺寸640x789
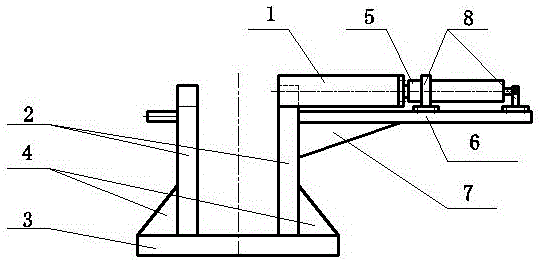
cn207996076u_木质马扎有效
图片尺寸1160x1536
古代兵器木质道具马槊枪 木质舞台影视道具枪 cos表演道具马槊枪
图片尺寸256x400
现今保留下来的马槊
图片尺寸640x340
骑兵必备—马具 马术是从古代生产和战争中演化而来
图片尺寸1719x1280
辉导手动锻打一体霸王枪赵云红缨加长马槊长矛方天画戟未开刃乳白色60
图片尺寸850x1216
一种电动式木牛流马制造技术
图片尺寸1000x705
马槊
图片尺寸720x960
cn212191057u_一种锻造扩孔用马架有效
图片尺寸542x263
马槊是否真的比不上白蜡杆子大枪?
图片尺寸390x270
百闻不如一试大唐猛将尉迟恭的马槊加鞭锏这样用才有威力
图片尺寸510x644
二,马槊复杂制作过程
图片尺寸508x467