高位槽结构图

一种溶剂高位槽的制作方法
图片尺寸707x1000
盐水高位槽
图片尺寸1600x1280
导热油加热器高位槽
图片尺寸893x1263
一种纺织印染助剂生产用高位槽的制作方法
图片尺寸390x443
一种导热油炉高位槽的制作方法
图片尺寸1000x858
一种溶剂高位槽的制作方法
图片尺寸924x1000
一种具有角度调节结构的亚硝酸钠高位槽
图片尺寸1598x1600
一种具有角度调节结构的亚硝酸钠高位槽的制作方法
图片尺寸998x1000
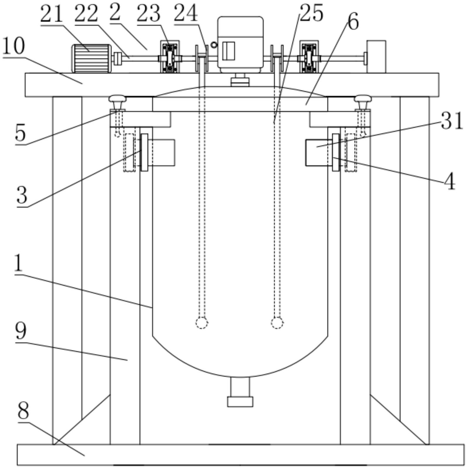
其特征在于,所述高位槽本体(1)呈圆柱体结构设置,所述高位槽本体(1)的
图片尺寸1000x931
一种便于调节流量的防溢出式卧式高位槽的制作方法
图片尺寸1000x773
一种具有自清洗功能的油剂高位槽桶的制作方法
图片尺寸851x1000
一种纤维素纤维生产中酸浴高位卧式槽装置制造方法及图纸
图片尺寸1000x542
硫酸高位槽总图
图片尺寸604x534
一种模块化玻璃钢电解高位槽的制作方法
图片尺寸1000x723
真空计量罐,高位槽,负压罐
图片尺寸601x343
烧碱高位槽cad图纸
图片尺寸800x600
一种新型水产养殖用二级锥体底排污高位池
图片尺寸1883x705
一种导热油高位槽氮封装置制造方法及图纸
图片尺寸1000x924
一种高位槽上料装置的制作方法
图片尺寸928x1000
400lpppvc塑料立式卧式真空计量罐高位槽反应釜
图片尺寸500x218