高压共轨管

康明斯qsb 6. 7/6d107博世原装高压共轨管#外贸出 - 抖音
图片尺寸1920x1440
浅析柴油发动机核心装备 博世柴油高压共轨系统
图片尺寸480x350
共轨管3
图片尺寸1920x1280
高压共轨管 17520-ma71a 博世共轨管 0445214112 现货
图片尺寸1000x550
液压高压管 3000 bar 共轨管
图片尺寸600x600
柴油发电机的高压共轨管主要起到蓄压器的作用
图片尺寸600x375
东风康明斯375电控高压共轨管3963815
图片尺寸1920x1277
挖掘机配件神钢130-8神钢140-8柴油泵高压共轨油管 机油管 sk130-8
图片尺寸1080x1080
isz高压共轨管d4307370
图片尺寸750x998
康明斯燃油共轨管总成/东风康明斯isde欧3电控四缸燃油共轨c3977727
图片尺寸600x450
什么是高压共轨
图片尺寸744x354
高压共轨
图片尺寸500x383
小卡之星高压共轨系统
图片尺寸600x439
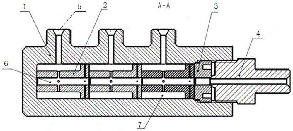
cn110486205a_一种内外双轨分腔式高压共轨管
图片尺寸1000x448
用于isuzu tfr nkr 的 4jb1 0445214282 高压柴油喷射共轨管
图片尺寸800x800
我的图库
图片尺寸980x735
大口径厚壁直缝- 沧州广晟钢管制造有限公司
图片尺寸2048x1536
高压共轨管d5010412034d5010412034
图片尺寸750x562
p91高压合金管优质商品价格石家庄
图片尺寸1000x667
北京福田汽车燃油共轨管5259689康明斯isf38发动机高压共轨
图片尺寸750x750