魔术贴原理

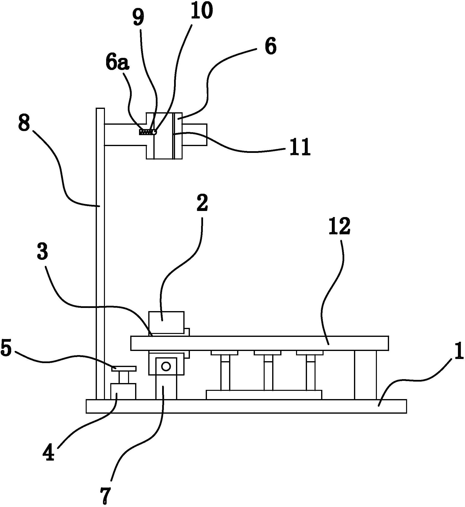
一种新型底贴布pvc弹性地板及其加工方法和装置
图片尺寸1813x1400
第107集 魔术贴放大160倍,猜猜它能反复粘住又能分开的原理是啥?
图片尺寸648x405
一种新型魔术贴的制作方法
图片尺寸534x360
刷碗海绵直接可以在池子里沥水晾干简洁整齐 原理就像鞋子上的魔术贴
图片尺寸1080x1439
但其实我们在生活中也能做到,只需要一片贴哪哪闪亮的全息虹彩魔术贴
图片尺寸1298x564
3m圆形背胶魔术贴扣尼龙搭扣带胶子母贴自粘带小圆点撕拉贴30对
图片尺寸800x800
萌依儿mengyier伸缩杆窗帘免打孔安装简易魔术贴遮光布出租房卧室2021
图片尺寸1581x2023
魔术贴工作原理
图片尺寸720x1280
魔术贴的工作原理是通过两种不同的材料:一种有微小的钩状部件,另一种
图片尺寸1705x1280
成形粘扣带的制作方法
图片尺寸803x1000
厂家自营优质环保尼龙材料魔术贴子母扣粘扣带246色可选支持定制
图片尺寸925x728
cn101731796a_粘扣带及其制作方法有效
图片尺寸1908x987
魔术贴怎么由来的呢?
图片尺寸615x405
环保小卫士的药乡无痕自然课堂
图片尺寸600x451
高周波魔术贴
图片尺寸700x465
魔术贴生产厂家蘑菇头射出勾蘑菇头软勾勾毛同体魔术贴
图片尺寸500x333
一种魔术贴扎线带的制作方法
图片尺寸437x444
一种粘扣带的制作方法
图片尺寸1910x2086
魔术贴的贴合力还算不错,但背胶的粘性却很差,取下顶棚后,已经有个别
图片尺寸1024x683
一种魔术贴勾面体的塑料射出机的制作方法
图片尺寸1201x543