鳍片式冷凝器

翅片管冷凝器选型需要注意哪些?宽信厂家为您分享
图片尺寸1920x1064
不锈钢翅片冷凝器
图片尺寸800x800
翅片管空气冷却器是怎样的换热器?你了解吗?_冷凝
图片尺寸1440x1080
制冰机用铜管铝翅片冷凝器蒸发器
图片尺寸1920x1555
翅片冷凝器
图片尺寸650x433
翅片管式冷凝器的优缺点
图片尺寸3456x3456
工厂供应翅片式冷凝器
图片尺寸1024x728
翅片冷凝器
图片尺寸709x600
翅片式冷凝器琴江qj20hp换热器风冷铜管铝翅片换热器冷凝器厂家定制
图片尺寸750x750
翅片管换热器的换热元件是翅片管,其蒸发段,冷凝段长度及翅化比按给定
图片尺寸641x641
鳍片式烟冷器&省煤器
图片尺寸800x600
厂家直销全不锈钢高耐腐速冻蒸发器防腐蚀冷风机厂家翅片式换热器
图片尺寸750x768
适用于福特escape鳍片式汽车冷凝器散热网厂家现货批发销售7-4106
图片尺寸270x270
专业定做翅片式冷凝器
图片尺寸673x546
机柜空调冷凝器翅片式冷凝器
图片尺寸600x450
鳍片铜管散热器
图片尺寸600x449
冷凝器
图片尺寸720x630
厂家200w宽边鳍片散热器冷锻鳍片散热器加工定做
图片尺寸800x800
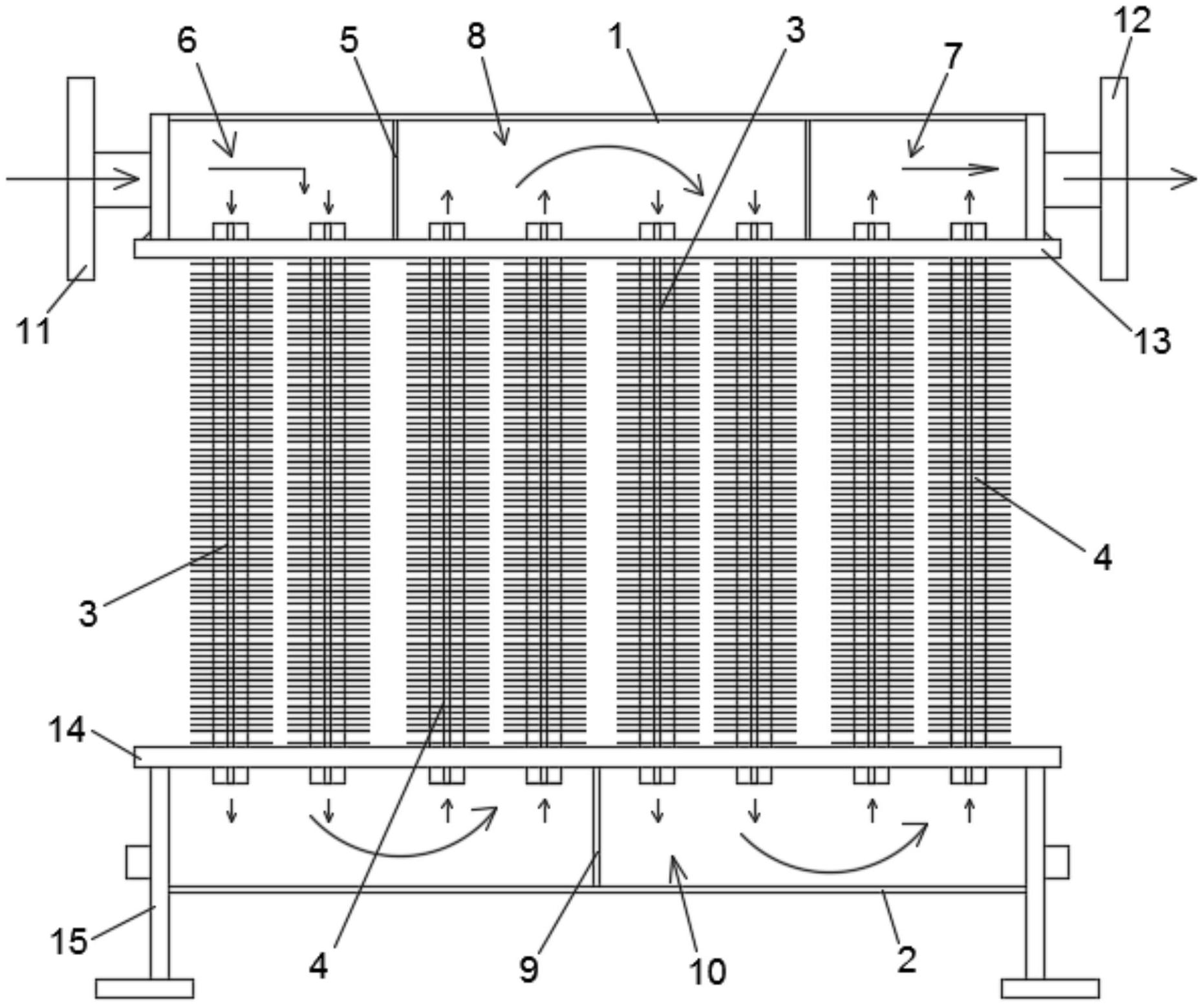
一种鳍片式船用冷却器
图片尺寸1862x1556
lga1356/1366/2011 1u 铝扣合鳍片 热管 铜底 服务器散热器图片
图片尺寸913x685