龙骨水车原理

马钧的龙骨水车
图片尺寸1152x720
龙骨水车图片
图片尺寸1024x542
利用水的势能工作的水车原理图
图片尺寸640x560
利用水的动能与势能工作的水车原理图
图片尺寸640x480
塑木水车水车立面详图-园林景观节点详图-筑龙园林景观论坛龙骨水车
图片尺寸400x549
齿轮传动的运用——龙骨水车76
图片尺寸547x397
2t 你为什么不考虑买一辆?
图片尺寸756x482
龙骨水车
图片尺寸794x400
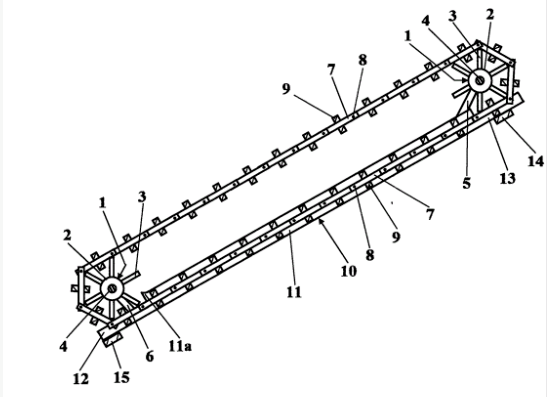
活塞式龙骨水车的制作方法
图片尺寸1000x776
毕岚创造的"翻车",据考证就是我国乡村中一直至现代还使用的龙骨水车
图片尺寸700x400
玩具水车
图片尺寸1528x852
与20多亿人相关35天里陷车100多次我们终于弄明白了这条生命线
图片尺寸1080x904
福建喜相逢告诉你汽车加速无力的罪魁祸首
图片尺寸631x374
灌溉神器—龙骨水车(翻车) 翻车又名龙骨水车,旧时中国民间灌溉农田用
图片尺寸2371x1280
一种安全可靠的大水车的制作方法
图片尺寸955x1000
龙尾车者,河滨挈水之器也……盖水车之属,其费力也以重.
图片尺寸654x415
风轮水车
图片尺寸1000x908
你懂车吗看完回家造车去
图片尺寸700x994
指南车原理指南车龙骨水车水转百戏你认识几个
图片尺寸600x361
龙骨水车
图片尺寸691x603