550轧机图纸

cn202461108u_一种角钢带钢两用轧机失效
图片尺寸748x1000
550立轧机列总图下载(803.81 kb,dwg格式) 机械cad图纸
图片尺寸696x475
550轧机压下装置cad图纸
图片尺寸820x581
一种轧机的板带输送装置制造方法及图纸
图片尺寸2208x1784
550立轧机列总图修订20180815原创图
图片尺寸1155x826
550立轧机列设计图纸立轧机cad图纸下载
图片尺寸1200x839
四辊带钢轧机总图下载(dwg格式)机械cad图纸
图片尺寸1113x786
zjd550x760型轧机-短应力参考图20180509
图片尺寸1084x770
四辊带钢轧机总图下载(145.57 kb,dwg格式) 机械cad图纸
图片尺寸686x508
轧机制造技术
图片尺寸959x1000
550立轧机列设计图纸立轧机cad图纸下载
图片尺寸548x992
轧机
图片尺寸960x1000
一种新型高刚度智能型万能轧机制造技术
图片尺寸993x1000
厚板轧机轧钢机机架设计cad图纸说明书
图片尺寸820x578
轧机详细图 - 机械加工图纸 - 沐风网
图片尺寸280x409
【创新修复】简单4步现场修复型钢万能轧机水平辊agc油缸与轧机牌坊
图片尺寸474x421
四辊轧机装配图下载(dwg格式)机械cad图纸
图片尺寸1130x804
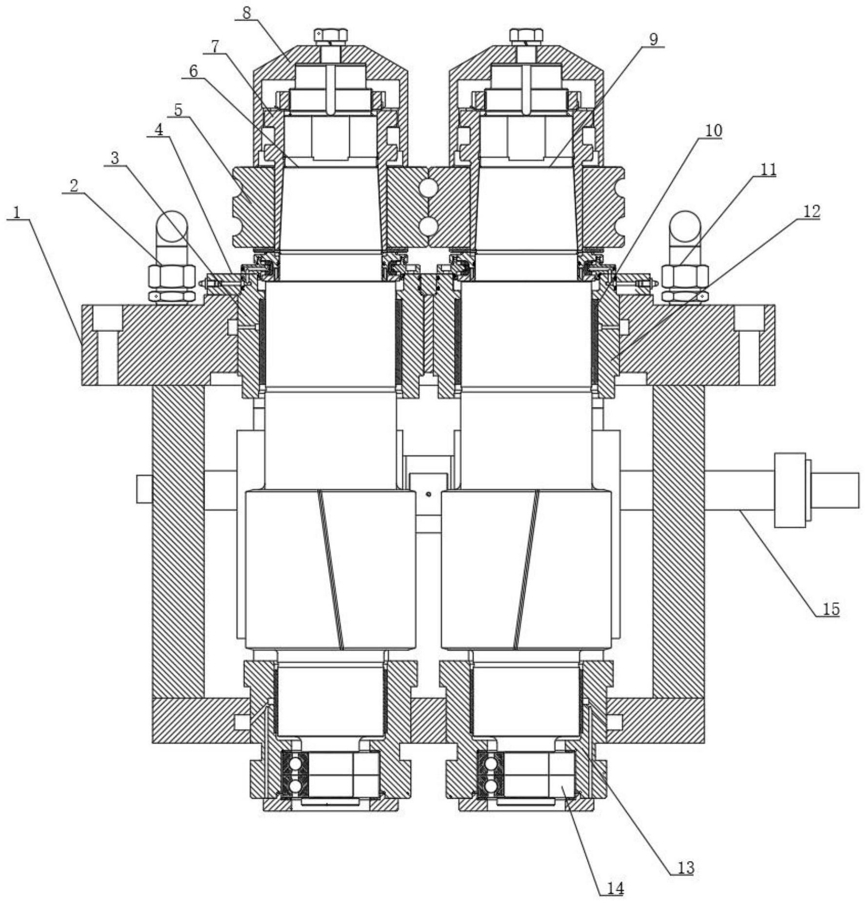
一种辊环式悬臂轧辊箱及具有该轧辊箱的轧机总成
图片尺寸1780x1853
轧机本体 (1)下载(899.12 kb,dwg格式) 机械cad图纸
图片尺寸695x524
一种新型高刚度智能型万能轧机的制作方法
图片尺寸832x1000