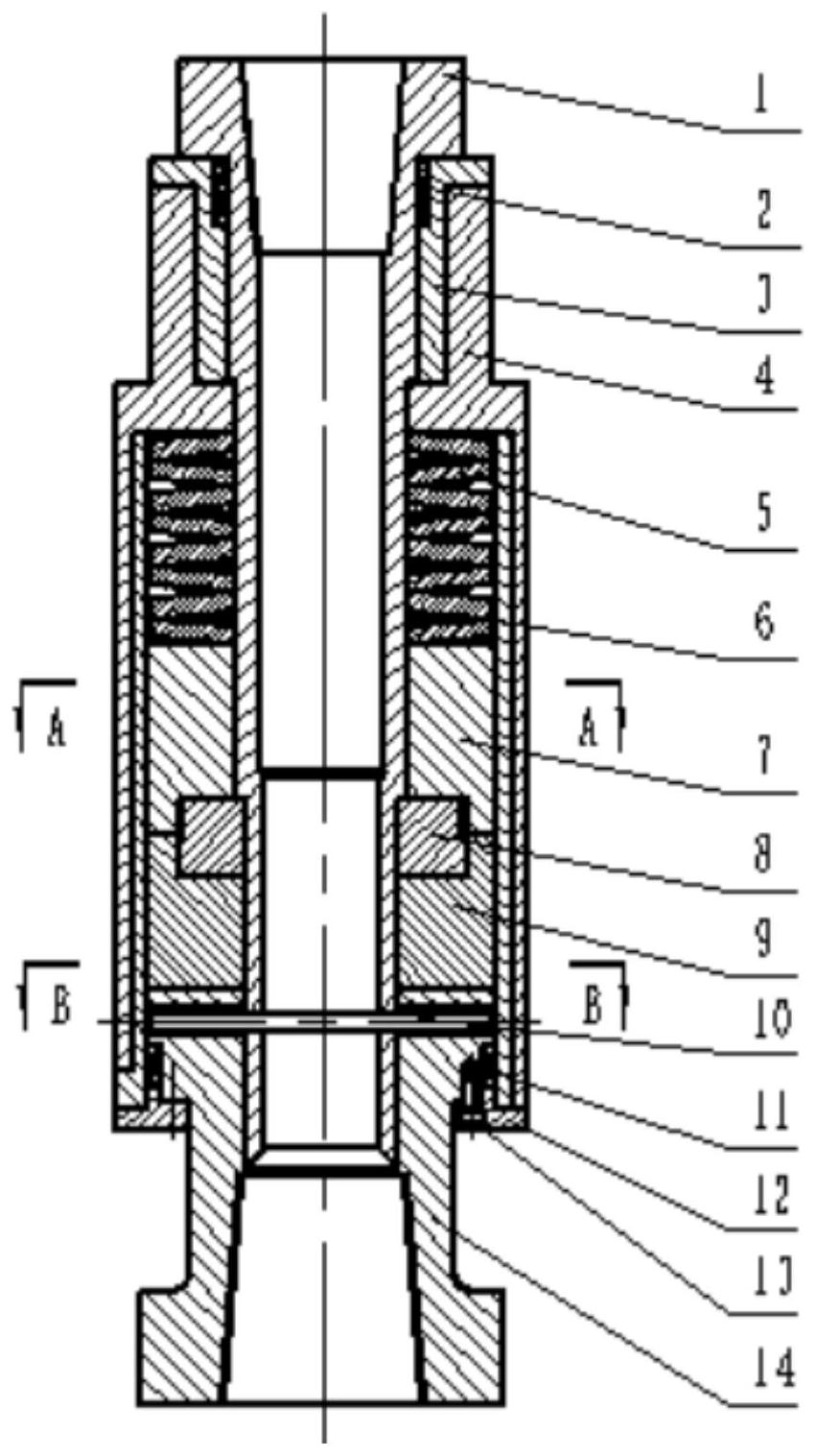
75冲击器结构图

内套筒与冲击器外壳通过榫卯结构固连;冲锤与内套筒间隙配合,冲锤上端
图片尺寸851x1517
一种高风压潜孔的冲击器,将目前使用的有阀配气结构的冲击器,改进为无
图片尺寸1408x2560
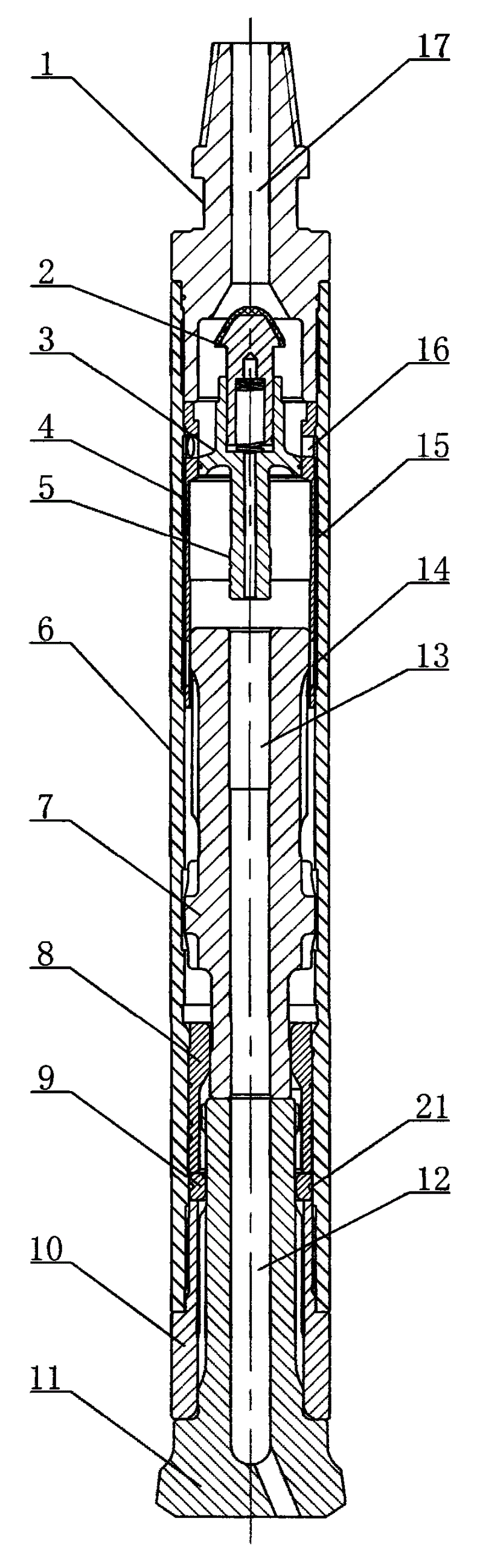
dhd345k冲击器装配示意图.jpg
图片尺寸1357x1920
成都冲击器厂家直销店
图片尺寸1080x1920
以安装在臂杆前端的冲击器,通过臂杆上,下,左,右移动冲击破 碎岩
图片尺寸665x523
一种频率连续可调液动冲击器有效
图片尺寸674x1000
组合供气式潜孔风动冲击器
图片尺寸1376x2272
黑金刚hd45a潜孔冲击器
图片尺寸681x1261
图片尺寸554x362
图片尺寸2122x1120
金典hd35高风压潜孔冲击器
图片尺寸2227x3107
开山牌新金刚开球m3低中高风压冲击器 90k3k4k5冲击器l3 y3高效
图片尺寸1080x2340
高风压潜孔冲击器
图片尺寸800x2594
液压冲击器归类错误被罚89万
图片尺寸671x388
低风压潜孔冲击器90型
图片尺寸1275x1753
一种大直径组合冲击器连接结构及潜孔钻机
图片尺寸1233x2013
—传承黑金刚冲击器经典专利配气结构设计
图片尺寸757x995
35a冲击器 高风压90钻头.专打硬岩 #花岗岩矿山 #铁矿
图片尺寸730x564
cir110低风压潜孔冲击器优选株洲华强质的保证
图片尺寸750x750
dragon系列冲击器
图片尺寸950x1231