PBA工法

02十一号线的pba工法
图片尺寸1007x605
pba工法新建地铁车站密贴下穿既有车站的中隔壁拆除方法
图片尺寸1000x589![[ppt]pba工法概述](https://i.ecywang.com/upload/1/img2.baidu.com/it/u=2305703175,3007183667&fm=253&fmt=auto&app=138&f=JPEG?w=560&h=373)
[ppt]pba工法概述
图片尺寸560x373
pba工法,矿山法,crd工法等!
图片尺寸864x424
地铁车站pba施工工法ppt课件_第1页
图片尺寸920x637
地铁工程暗挖车站pba工法施工动画,工艺流程一看便知!
图片尺寸1920x1080
浅埋暗挖地铁区间隧道"pba"施工工法
图片尺寸747x456
浅埋暗挖地铁区间隧道"pba"施工工法
图片尺寸788x418
浅埋暗挖地铁区间隧道"pba"施工工法
图片尺寸490x302
地铁车站pba施工工法冶金矿山地质工程科技专业资料.pptx
图片尺寸1248x864
一种采用pba工法施工的地铁车站的降水方法技术
图片尺寸1000x865
pba_暗挖逆作工法在城市地铁车站工程中的应用
图片尺寸479x398
pba工法洞内钻孔桩施工
图片尺寸1080x810
pba施工工法
图片尺寸560x361
地铁暗挖车站洞桩法(pba)施工技术_pdf.pdf
图片尺寸1200x1669
地铁车站pba暗挖段综合施工工法.doc 11页
图片尺寸792x1120
pba工法中钻孔桩施工技术——北京地铁十号线呼家楼车站洞内钻孔桩
图片尺寸984x354
pba施工工法.ppt
图片尺寸920x636
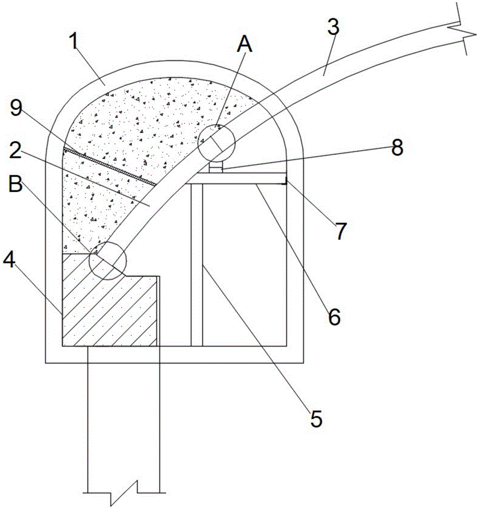
一种pba工法的边导洞拱脚初支与拱顶初支连接结构
图片尺寸940x1000
pba工法,矿山法,crd工法等!
图片尺寸857x431