catia画波纹管

catia特定尺寸的弯曲波纹管怎么画?相关公式代表什么意思?必重赏!
图片尺寸1081x714
catia特定尺寸的弯曲波纹管怎么画?相关公式代表什么意思?必重赏!
图片尺寸1178x631
catia特定尺寸的弯曲波纹管怎么画?相关公式代表什么意思?必重赏!
图片尺寸651x701
catia中法则曲线的应用讲解绘制波纹管catia二次开发简单引用
图片尺寸1079x607
catia中法则曲线的应用讲解绘制波纹管catia二次开发简单引用
图片尺寸1080x584
catia特定尺寸的弯曲波纹管怎么画?相关公式代表什么意思?必重赏!
图片尺寸1594x700
catia螺纹软管快速建模
图片尺寸1728x1080
catia波纹管建模
图片尺寸1728x1080
catia汽车线束设计-线束波纹管参数化建模-cyril也-python-哔哩哔哩
图片尺寸2438x1524
一种双壁波纹管
图片尺寸1489x1385
catia中法则曲线的应用讲解绘制波纹管catia二次开发简单引用
图片尺寸776x344
catia中法则曲线的应用讲解绘制波纹管catia二次开发简单引用
图片尺寸1080x564
波纹管下水软管的画法catiav5产品设计教程下载
图片尺寸806x555
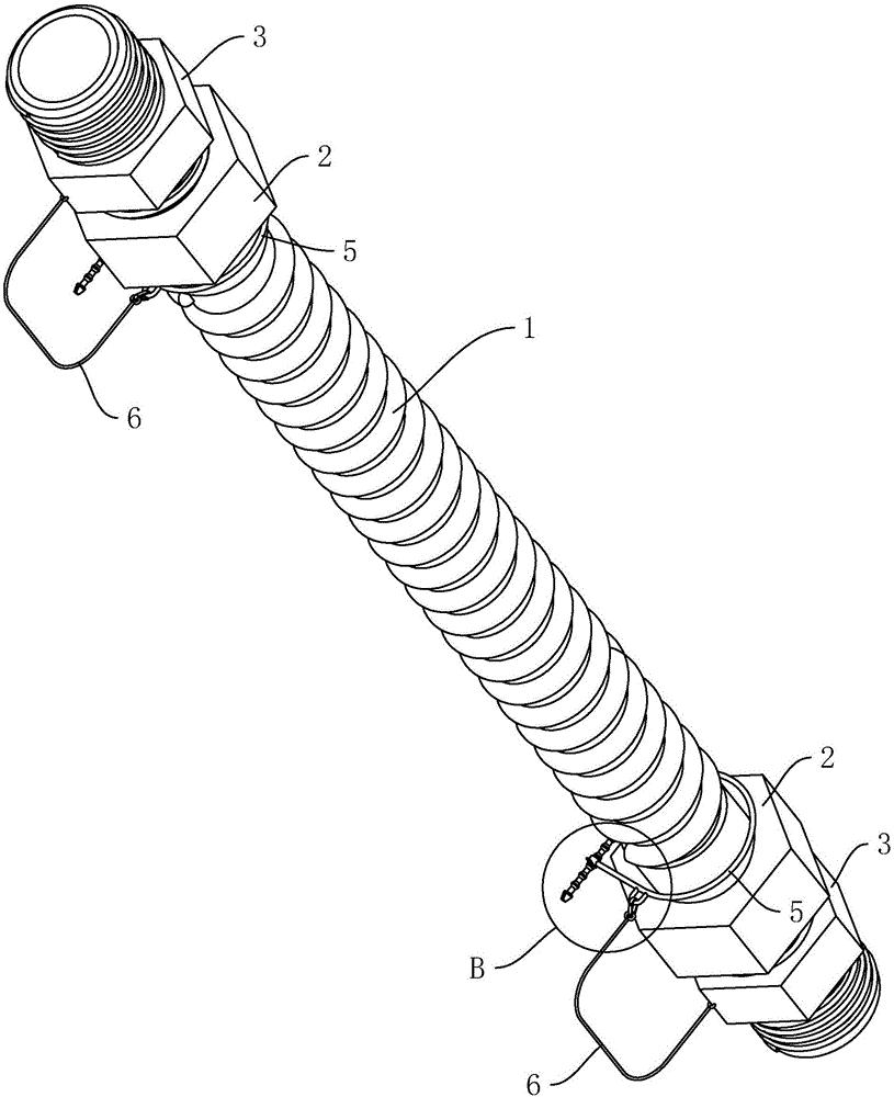
一种不锈钢波纹管
图片尺寸815x1000
那位高手帮我画根螺旋状的波纹管,我只能画环状旋转的波纹管,谢谢了!
图片尺寸1217x939
波纹管的画法
图片尺寸1696x674
catia中法则曲线的应用讲解绘制波纹管catia二次开发简单引用
图片尺寸929x379
catia中法则曲线的应用讲解绘制波纹管catia二次开发简单引用
图片尺寸1016x564
波纹软管
图片尺寸1100x850
catia中法则曲线的应用讲解绘制波纹管catia二次开发简单引用
图片尺寸1079x607