cooler and cooler

cooler and cooler accessory with integrated liquid dispenser
图片尺寸1768x2506
the best cooler and ice chest review
图片尺寸640x480
the best cooler and ice chest review
图片尺寸600x450
motorcycle fluid cooler and method
图片尺寸2295x3503
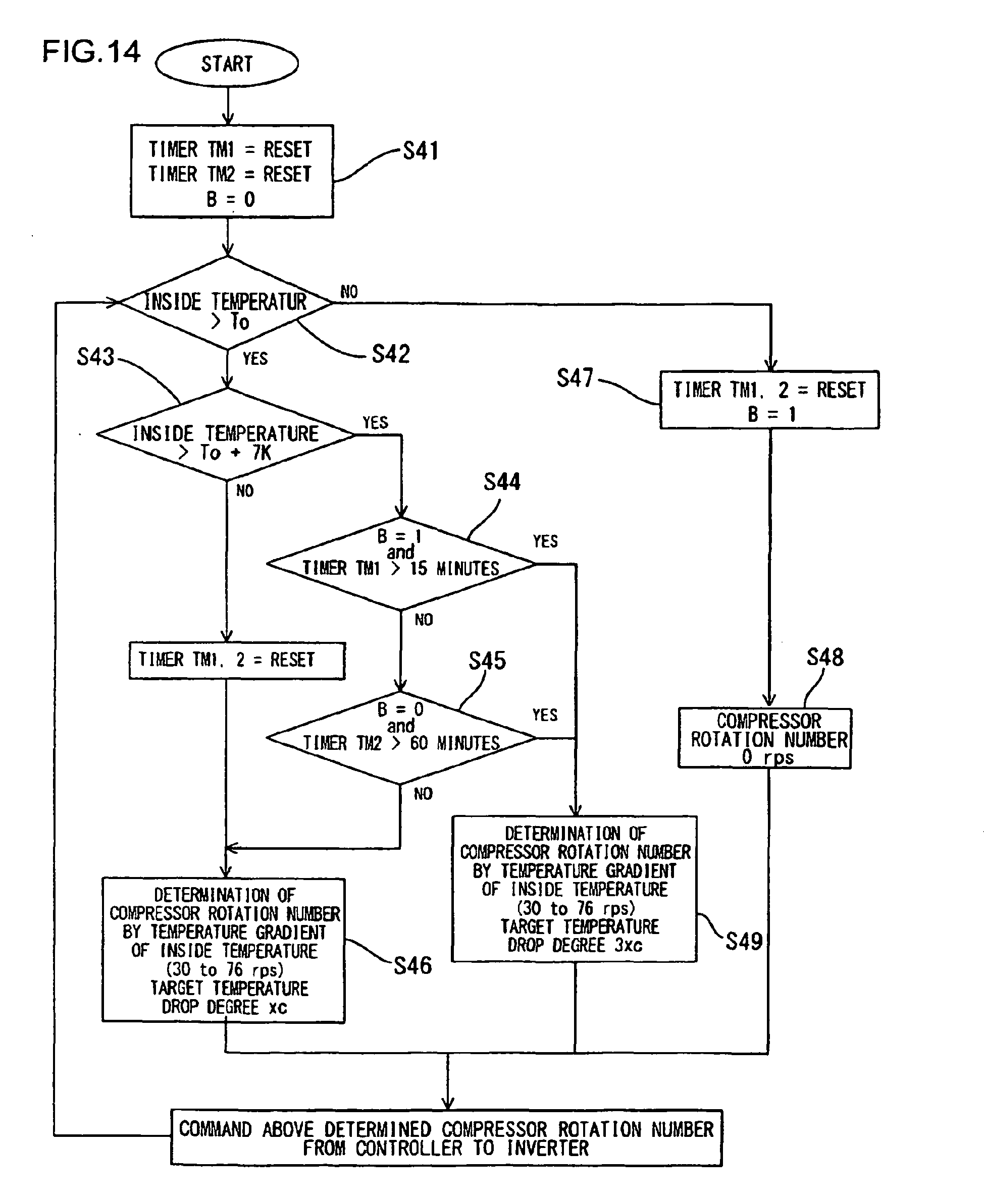
cooler and refrigerator
图片尺寸1949x2386
thermoelectric cooler and warmer
图片尺寸320x299
heat sink and cooler
图片尺寸1937x2640
motorcycle fluid cooler and method
图片尺寸2328x3493
cooler and warmer unit
图片尺寸560x374
car cooler and warmer
图片尺寸600x447
10欧的ultraaircooler适合干热地区
图片尺寸960x1280
12 l aqua portable cooler and warmer
图片尺寸600x400
gatorade ice chest cooler 48 quart orange and white w/emblem new
图片尺寸476x500
re-usable re-freezable cooler and re-usable re-freezable/re
图片尺寸2129x2674
the best cooler and ice chest review
图片尺寸640x480
electric cooler refrigerator 12v portable car and home cooler
图片尺寸1000x1000
portable cooler and heater
图片尺寸300x300
好物推荐高颜值安德玛cooler
图片尺寸1080x810
oil cooler and small watercraft
图片尺寸2251x2215
forming a thin film thermoelectric cooler and structures formed
图片尺寸1179x1846