hdb3码怎么画

高等教育 理学 6-2 数字信号编码及在光纤中的传输 hdb3的编码原则
图片尺寸901x413
0 1 0 1 1 0 0 0 0 0 1 1 0 0 0 0 1 hdb3码
图片尺寸516x309
通信原理笔记(樊昌信第七版)
图片尺寸1391x784
hdb3码特点_优点_编码规则-维库电子通
图片尺寸487x164
试确定相应的ami码及hdb3码,并分别画出它们的波形图
图片尺寸706x375
hdb3码保持了ami码的优点,克服了ami码在长串"0 "时不能反映码定时
图片尺寸700x458
锁相环 u16:集成锁相环cd4046 下面简单介绍ahi,hdb3码编码规律.
图片尺寸1281x617
数字通信原理实验箱ami / hdb3码编译码过程实验
图片尺寸758x421
hdb3码的编码
图片尺寸978x316
码 在当前使用的pcm 2m传输线中,使用的是高密度双极化3 零码 (hdb3)
图片尺寸720x356
基于epm3128的hdb3编译码器的实现
图片尺寸410x490
数字双向码,密勒码,传号反转(cmi)码,ami,hdb3的编码规则和功率谱解析
图片尺寸1024x726
基于vhdl的hdb3编码器设计
图片尺寸483x400
对数字基带传输常用码型hdb3码的编码规则的理解
图片尺寸575x230
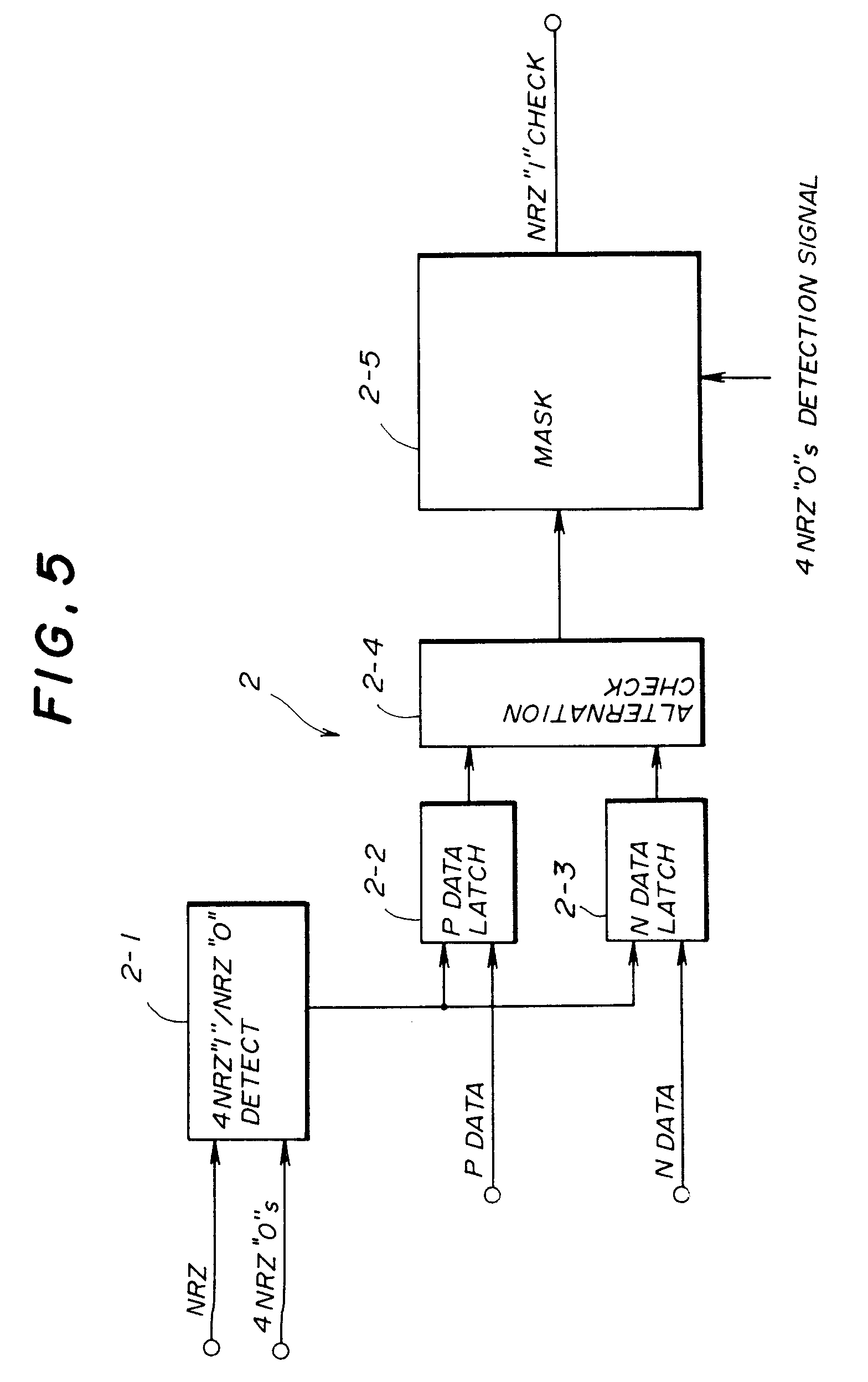
hdb3 code violation detector
图片尺寸1568x2496
matlab_hdb3编码译码数字信号调制解调
图片尺寸555x483
通讯线路编码类型总结
图片尺寸477x155
3.2 hdb3 encoding
图片尺寸849x1099
对数字基带传输常用码型hdb3码的编码规则的理解
图片尺寸800x1132
对数字基带传输常用码型hdb3码的编码规则的理解
图片尺寸618x251