highway13原理图

13003三极管前端放管是什么型号
图片尺寸927x449
resnet残差网络的学习【概念 翻译】
图片尺寸679x565
kones高士av113功放电路图
图片尺寸680x860
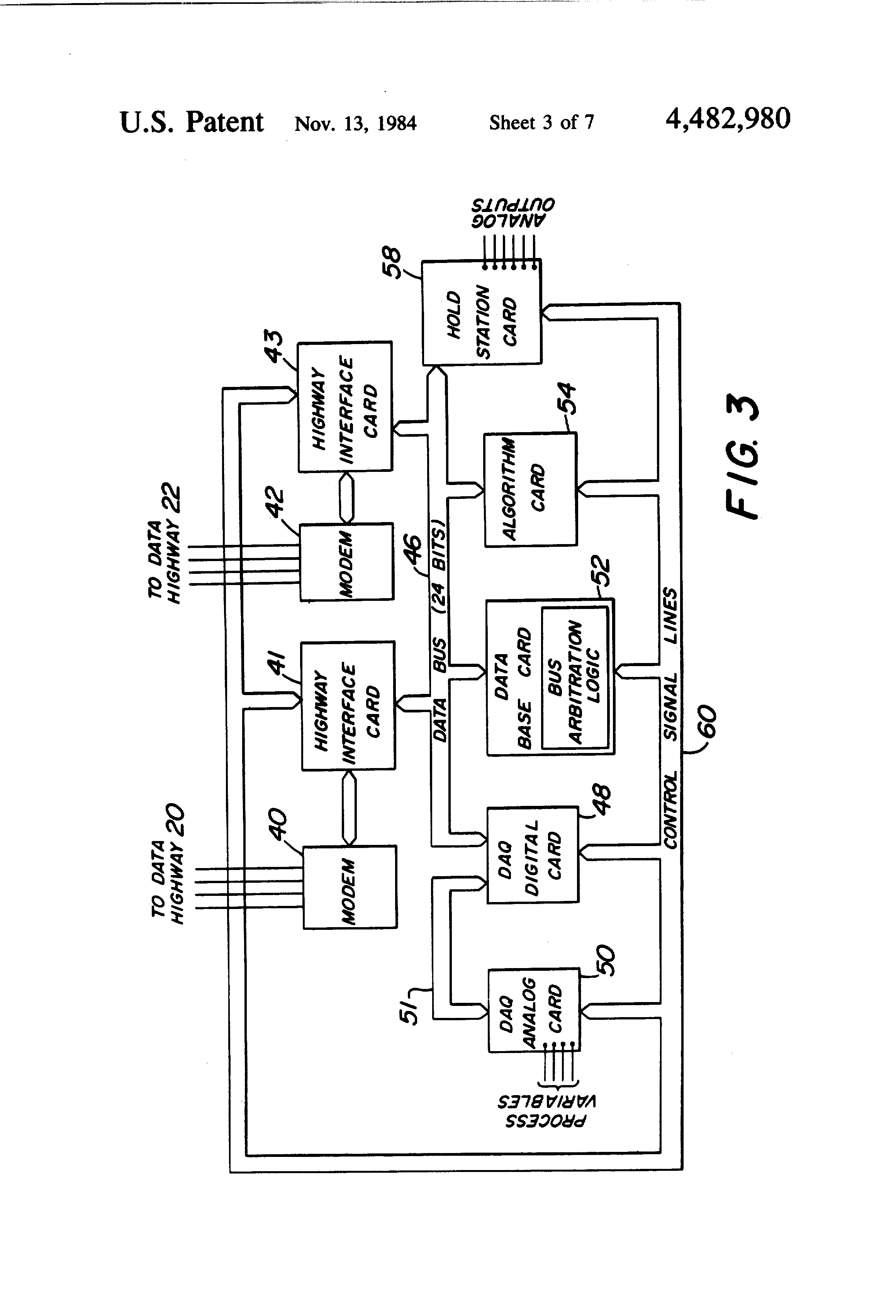
专利us4482980 - hybrid optical/electrical data highway - google
图片尺寸2320x3408
1080_1308
图片尺寸1080x1308
university experimental school (elementary school, junior high
图片尺寸2334x1482
值得买吗?
图片尺寸1200x661
3d设计软件catia v5-6r2021中文版,catia软件win/mac安装教程
图片尺寸640x328
preliminary study of the nanfeng line was won by china railway
图片尺寸1080x696
2024上海卓越世纪中心卓越世纪中心售楼中心楼盘详情户型房价地址详情
图片尺寸600x448
恒都·云璟官方网站-松江恒都云璟售楼处电话-售楼处火爆认购中
图片尺寸660x934
恒都·云璟官方网站-松江恒都云璟售楼处电话-售楼处火爆认购中
图片尺寸660x1062
恒都·云璟官方网站-松江恒都云璟售楼处电话-售楼处火爆认购中
图片尺寸660x934
apple music评选史上最佳百大专辑完整排名揭晓了!
图片尺寸553x690
apple music评选史上最佳百大专辑完整排名揭晓了!
图片尺寸553x690
恒都·云璟官方网站-松江恒都云璟售楼处电话-售楼处火爆认购中
图片尺寸660x1094
apple music评选史上最佳百大专辑完整排名揭晓了!
图片尺寸553x690
apple music评选史上最佳百大专辑完整排名揭晓了!
图片尺寸553x690
试驾岚图一路开挂的秘诀极致的安全
图片尺寸1080x694
伦敦4月21日封路安排如下4:00至13:00封闭路段:charlton wayshooters
图片尺寸640x261